授权公布号:CN206552449U
自清洁型传递窗
有效
申请
2017-01-16
申请公布
1970-01-01
授权
2017-10-13
预估到期
2027-01-16
| 申请号 | CN201720059697.9 |
| 申请日 | 2017-01-16 |
| 授权公布号 | CN206552449U |
| 授权公告日 | 2017-10-13 |
| 分类号 | B65D25/02;B65D25/20;B07B1/04 |
| 分类 | 输送;包装;贮存;搬运薄的或细丝状材料; |
| 申请人名称 | 望家欢农产品集团有限公司 |
| 申请人地址 | 广东省深圳市福田区通业大厦南塔1606室 |
专利法律状态
2017-10-13
授权
状态信息
授权
摘要
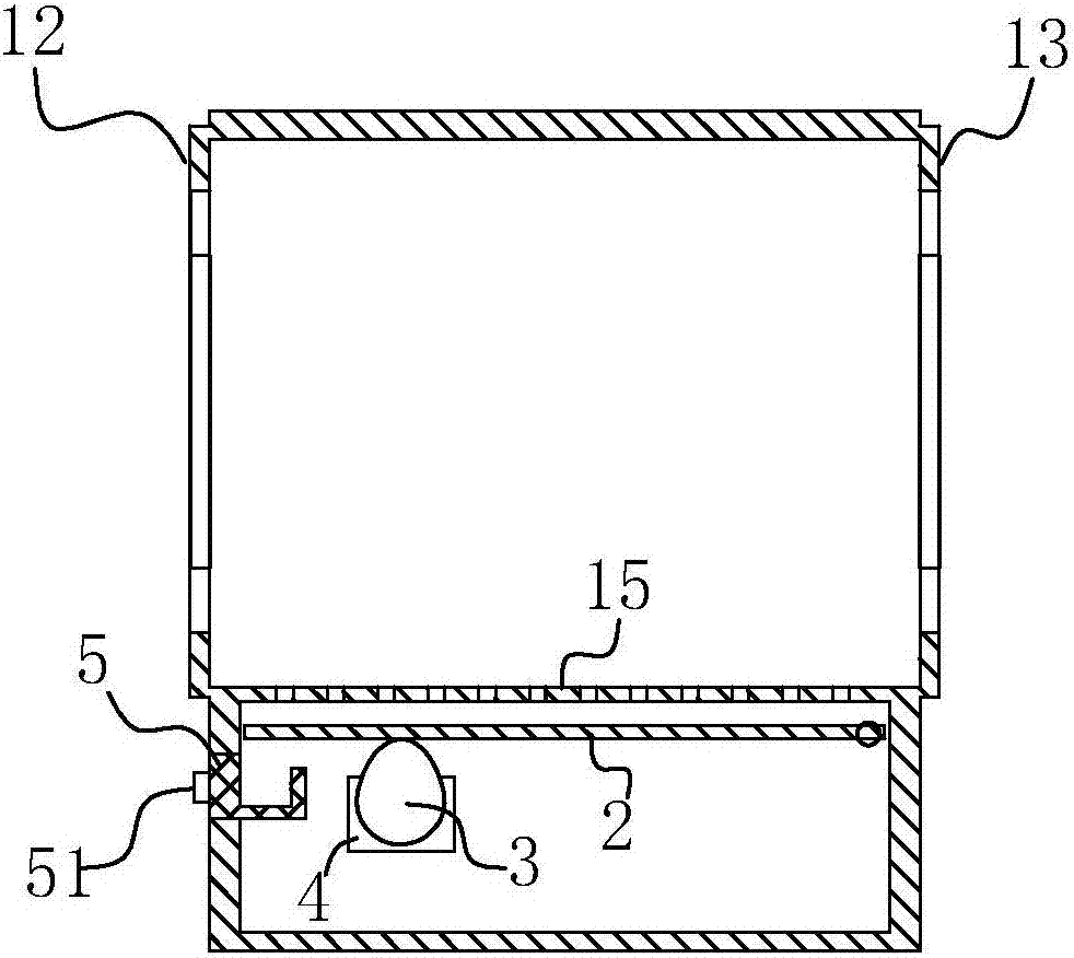
一种自清洁型传递窗,包括内部具有传递通道的箱体,传递通道的两端分别设有内侧门和外侧门,传递通道的底板为具有多个筛孔的筛板,筛板的下方设有收集槽、活动设置的承接板以及用于驱动承接板动作以将承接的杂质导入收集槽内的驱动组件,所述驱动组件由控制装置触发工作。经过传递窗传递的暂存在传递通道内的物料,其表面的颗粒杂质如有掉落,容易经过筛孔掉落在承接板上,承接板可活动设置,在驱动组件驱动承接板活动过程中,颗粒杂质在重力作用下被活动后的承接板导入收集槽内,驱动组件有控制装置控制在物料传递时候工作,实现自清洁。


