授权公布号:CN206462370U
净菜加工清洗系统
有效
申请
2017-01-16
申请公布
1970-01-01
授权
2017-09-05
预估到期
2027-01-16
| 申请号 | CN201720049108.9 |
| 申请日 | 2017-01-16 |
| 授权公布号 | CN206462370U |
| 授权公告日 | 2017-09-05 |
| 分类号 | A23N12/02 |
| 分类 | 其他类不包含的食品或食料;及其处理; |
| 申请人名称 | 望家欢农产品集团有限公司 |
| 申请人地址 | 广东省深圳市福田区通业大厦南塔1606室 |
专利法律状态
2017-09-05
授权
状态信息
授权
摘要
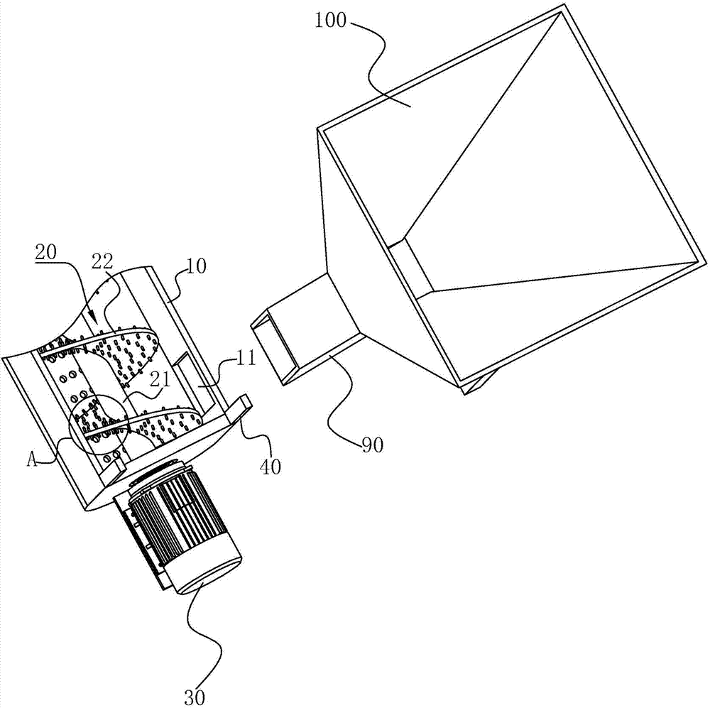
本实用新型公开了一种净菜加工清洗系统,解决了现有技术中,对蔬菜的全方位清洗效果不佳的问题,其技术方案要点是,包括一端开设有进料口、另一端开设有出料口的传送斗,所述传送斗的斗腔内设有与所述传送斗转动连接的螺旋传送杆,所述传送斗的上方设有开设有喷口的喷水管,所述传送斗的底部开设有出水孔,还包括用于提供驱动力以带动所述螺旋传送杆发生转动的驱动装置,本实用新型具有尽可能地高实现对蔬菜的全方位清洗,且清洗效果较好的优点。


