授权公布号:CN206469962U
可打印条形码的电子秤
有效
申请
2017-01-16
申请公布
1970-01-01
授权
2017-09-05
预估到期
2027-01-16
| 申请号 | CN201720049439.2 |
| 申请日 | 2017-01-16 |
| 授权公布号 | CN206469962U |
| 授权公告日 | 2017-09-05 |
| 分类号 | G01G19/40;G01G21/30 |
| 分类 | 测量;测试; |
| 申请人名称 | 望家欢农产品集团有限公司 |
| 申请人地址 | 广东省深圳市福田区通业大厦南塔1606室 |
专利法律状态
2017-09-05
授权
状态信息
授权
摘要
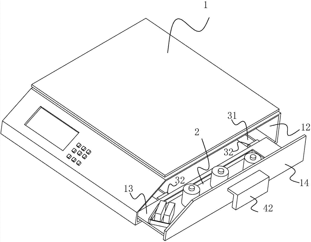
本实用新型公开了一种可打印条形码的电子秤,解决了桌面上放置大量待打称的商品,电子称与条形码打印机分开放置,暂用了桌面大量空间,打称后的商品放置空间小,工作人员需要将打完称的商品挪开的问题,其技术方案要点是包括称壳,所述称壳侧面开设有容置槽,所述容置槽内滑移有承接板,所述承接板安装有打码机,于承接板的滑移下实现打码机置于容置槽内或容置槽外,达到利用电子称的容置槽,减少打打码机对桌面空间的暂用量。


