授权公布号:CN214647802U
车载折叠办公桌
有效
申请
2021-01-29
申请公布
1970-01-01
授权
2021-11-09
预估到期
2031-01-29
| 申请号 | CN202120256028.7 |
| 申请日 | 2021-01-29 |
| 授权公布号 | CN214647802U |
| 授权公告日 | 2021-11-09 |
| 分类号 | B60N3/00 |
| 分类 | 一般车辆; |
| 申请人名称 | 中天高科特种车辆有限公司 |
| 申请人地址 | 天津市武清区武清开发区泉发路30号 |
专利法律状态
2021-11-09
授权
状态信息
授权
摘要
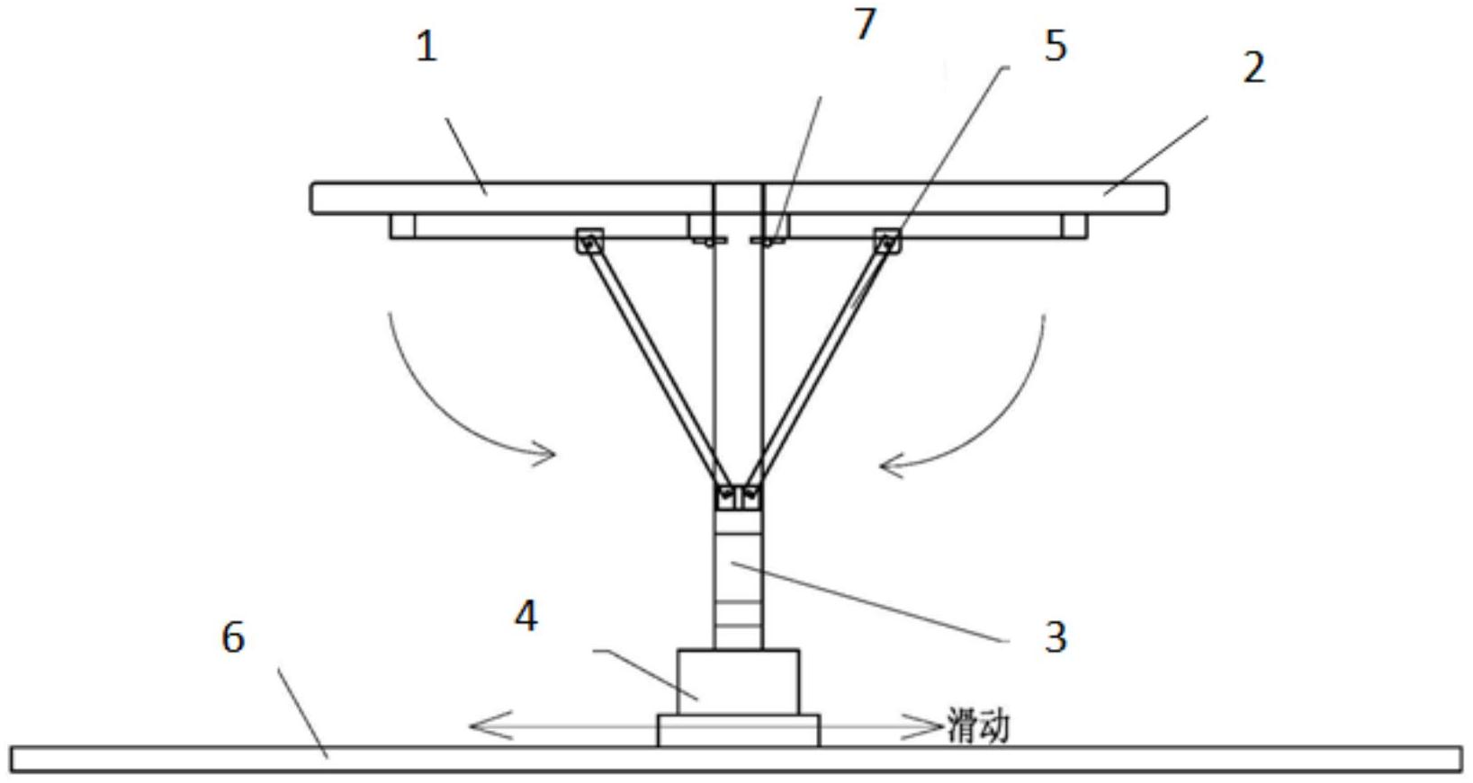
本实用新型涉及房车技术领域,尤其涉及一种车载折叠办公桌,包括第一桌面、第二桌面、桌腿、旋转移动底座、折叠支架以及滑道;所述滑道固定在车辆底板上,所述旋转移动底座的底部与所述滑道滑动配合,所述桌腿的底部通过轴承安装在所述旋转移动底座上,所述桌腿的上部两侧通过铰链分别与所述第一桌面和第二桌面铰接,所述折叠支架为两个,折叠支架一端与第一桌面和第二桌面的底部铰接,另一端与桌腿侧部滑动连接。本办公桌可以进行折叠、旋转和移动,而且调整折叠支架能保证办公桌保持水平,保证办公桌稳定性。


