授权公布号:CN210157295U
一种可调节的视频监控器
有效
申请
2019-09-02
申请公布
1970-01-01
授权
2020-03-17
预估到期
2029-09-02
| 申请号 | CN201921446324.2 |
| 申请日 | 2019-09-02 |
| 授权公布号 | CN210157295U |
| 授权公告日 | 2020-03-17 |
| 分类号 | H04N7/18;H04N5/232;B08B1/04 |
| 分类 | 电通信技术; |
| 申请人名称 | 保利物业发展股份有限公司 |
| 申请人地址 | 广东省广州市阅江中路688号保利国际广场北塔二层 |
专利法律状态
2021-11-02
专利权人的姓名或者名称、地址的变更
状态信息
专利权人的姓名或者名称、地址的变更;IPC(主分类):H04N7/18;变更事项:专利权人;变更前:保利物业发展股份有限公司;变更后:保利物业服务股份有限公司;变更事项:地址;变更前:510000 广东省广州市阅江中路688号保利国际广场北塔二层;变更后:510000 广东省广州市阅江中路688号保利国际广场北塔二层
2020-03-17
授权
状态信息
授权
摘要
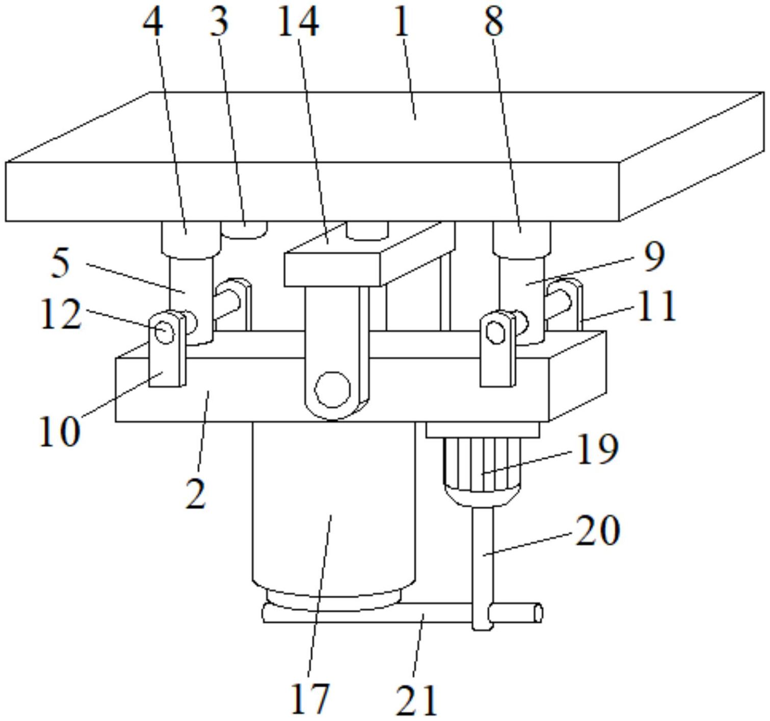
本实用新型公开了一种可调节的视频监控器,包括墙板、摆动板和摄像头,墙板底部设置有摆动板,墙板底部一侧设置有伸缩电机,伸缩电机的一端设置有伸缩套杆,伸缩套杆的输出端连接有第一伸缩杆,墙板底部另一侧设置有伸缩柱,伸缩柱的输出端连接有第二伸缩杆,摆动板上靠近第一伸缩杆和第二伸缩杆均焊接有第一固定板,摆动板上靠近第一伸缩杆和第二伸缩杆的另一端均焊接有第二固定板,摆动板底部靠近中间位置处安装有摄像头,摆动板底部另一端设置有第二底板,第二底板上安装有电机,电机的输出端连接有旋转轴,旋转轴上另一端设置有毛刷杆。有益效果:本实用新型通过摆动板摆动使得摄像头的角度可以自由调节,摄像头可以有较广的拍摄范围。


