授权公布号:CN112576913B
一种小区物业用安防监控平台
有效
申请
2020-12-08
申请公布
2021-03-30
授权
2022-08-19
预估到期
2040-12-08
| 申请号 | CN202011444659.8 |
| 申请日 | 2020-12-08 |
| 申请公布号 | CN112576913A |
| 申请公布日 | 2021-03-30 |
| 授权公布号 | CN112576913B |
| 授权公告日 | 2022-08-19 |
| 分类号 | F16M13/02;F16M11/04;H04N5/225;H04N7/18;B08B1/04;B08B1/00 |
| 分类 | 工程元件或部件;为产生和保持机器或设备的有效运行的一般措施;一般绝热; |
| 申请人名称 | 金科智慧服务集团股份有限公司 |
| 申请人地址 | 重庆市江北区五里店五黄路侧“金科花园” |
专利法律状态
2022-08-19
授权
状态信息
授权
2021-03-30
公布
状态信息
公布
摘要
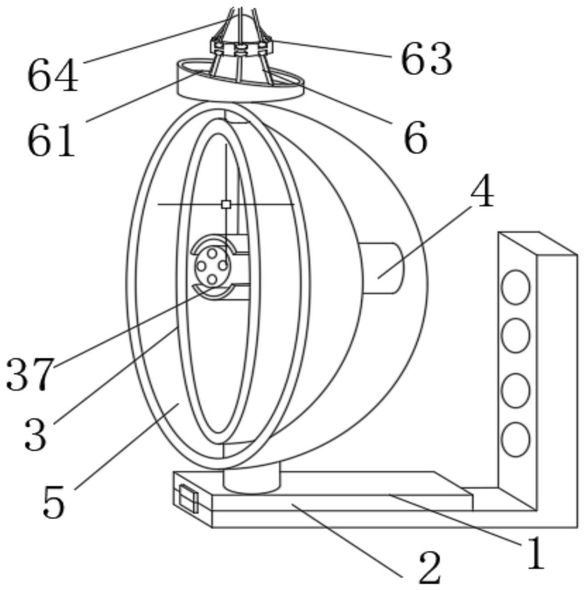
本发明提供了一种小区物业用安防监控平台,包括架体,所述架体包括支撑机构、保护机构、清洁机构、外半圆壳体和驱鸟机构;其中,所述支撑机构包括L形底架、起翘板、合页和立杆。本发明,其保护机构不仅对摄像头外部有保护的作用,且方便调节摄像头影射的方向,从而起到更好的安防监控作用,其次对监控机构的安装和修整,也可通过起翘板的起翘高度,可便于安装在高处的摄像头加控对地面的监控,同时外壳可对抵挡风沙具有一定作用,减少风力腐蚀镜头,另外可加快雨水排除,减少雨水的积攒,造成监控设备生锈损坏,最后可减少鸟类或飞禽的逗留在监控设备上,造成设备的晃动,且可防止鸟类靠近,而造成监控设备的噪音的录入。


