授权公布号:CN219434843U
医疗检测装置、孵育机构及其驱动组件
有效
申请
2022-12-14
申请公布
1970-01-01
授权
2023-07-28
预估到期
2032-12-14
| 申请号 | CN202223353414.1 |
| 申请日 | 2022-12-14 |
| 授权公布号 | CN219434843U |
| 授权公告日 | 2023-07-28 |
| 分类号 | G01N33/531;G01N33/543;G01N35/00 |
| 分类 | 测量;测试; |
| 申请人名称 | 广州万孚生物技术股份有限公司 |
| 申请人地址 | 广东省广州市萝岗区科学城荔枝山路8号 |
专利法律状态
2023-07-28
授权
状态信息
授权
摘要
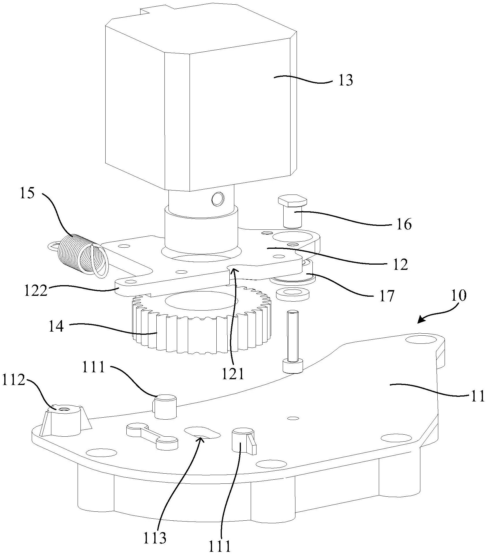
本实用新型涉及一种医疗检测装置、孵育机构及其驱动组件,驱动组件包括第一支撑座、安装座、电机、齿轮、以及弹性件。一方面,在弹性件的作用下使得齿轮与配合齿紧密啮合,保证啮合稳定,转轴转动时,转轴带动齿轮同步转动,齿轮同步带动配合齿动作,使拨卡转盘自由灵活地转动。另一方面,当拨卡转盘的配合齿的加工精度不足的问题导致与齿轮卡死时,电机与安装座会向外摆动,跳过啮合齿,从而能解决加工制造中拨卡转盘的配合齿的加工精度不足的问题和防止卡死后配合齿损坏,自动适应拨卡转盘的加工装配误差,有效避免传动过载,发生意外时能够有效保护齿轮,避免折断。此外,驱动拨卡转盘所需力矩更小,定位更准确。另外,空间紧凑。


