授权公布号:CN115153937B
口腔护理设备
有效
申请
2022-08-05
申请公布
2022-10-11
授权
2023-12-29
预估到期
2042-08-05
| 申请号 | CN202210940258.4 |
| 申请日 | 2022-08-05 |
| 申请公布号 | CN115153937A |
| 申请公布日 | 2022-10-11 |
| 授权公布号 | CN115153937B |
| 授权公告日 | 2023-12-29 |
| 分类号 | A61C17/36 |
| 分类 | 医学或兽医学;卫生学; |
| 申请人名称 | 深圳素士科技股份有限公司 |
| 申请人地址 | 广东省深圳市南山区桃源街道福光社区留仙大道3370号南山智园崇文园区2号楼1101、1102、1103、1104室及401,402室 |
专利法律状态
2023-12-29
授权
状态信息
授权
2022-10-28
实质审查的生效
状态信息
实质审查的生效;IPC(主分类):A61C17/36;申请日:20220805
2022-10-11
公布
状态信息
公布
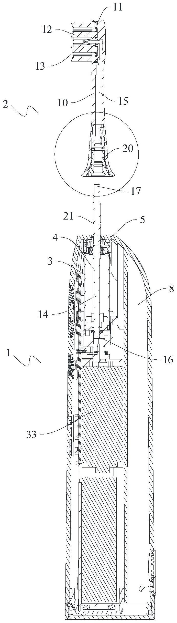
摘要
本发明提供了一种口腔护理设备。口腔护理设备包括手柄部和护理头部,手柄部被配置为适于握持,手柄部包括:声波电机包括电机本体和动力输出轴,动力输出轴被配置为与电机本体相配合并传输电机本体的输出动力,动力输出轴具有与输出轴线相平行的轴向通道;护理头部包括与输出轴线相平行的冲刷柄和设置在冲刷柄的头部的刷头;护理头部还包括:支架结构被配置为能够向冲刷柄传递动力输出轴的驱动力,支架结构设置在冲刷柄的远离刷头的一端,支架结构能够与动力输出轴卡接配合,以限制动力输出轴相对于冲刷柄的轴向运动。本发明的技术方案的口腔护理设备具有同步冲刷功能,以提高用户体验感和口腔清洁效果。


