授权公布号:CN115349972B
集成式口腔护理装置
有效
申请
2022-08-05
申请公布
2022-11-18
授权
2024-02-02
预估到期
2042-08-05
| 申请号 | CN202210940203.3 |
| 申请日 | 2022-08-05 |
| 申请公布号 | CN115349972A |
| 申请公布日 | 2022-11-18 |
| 授权公布号 | CN115349972B |
| 授权公告日 | 2024-02-02 |
| 分类号 | A61C17/36;A61C17/22 |
| 分类 | 医学或兽医学;卫生学; |
| 申请人名称 | 深圳素士科技股份有限公司 |
| 申请人地址 | 广东省深圳市南山区桃源街道福光社区留仙大道3370号南山智园崇文园区2号楼1101、1102、1103、1104室及401,402室 |
专利法律状态
2024-02-02
授权
状态信息
授权
2022-11-18
公布
状态信息
公布
摘要
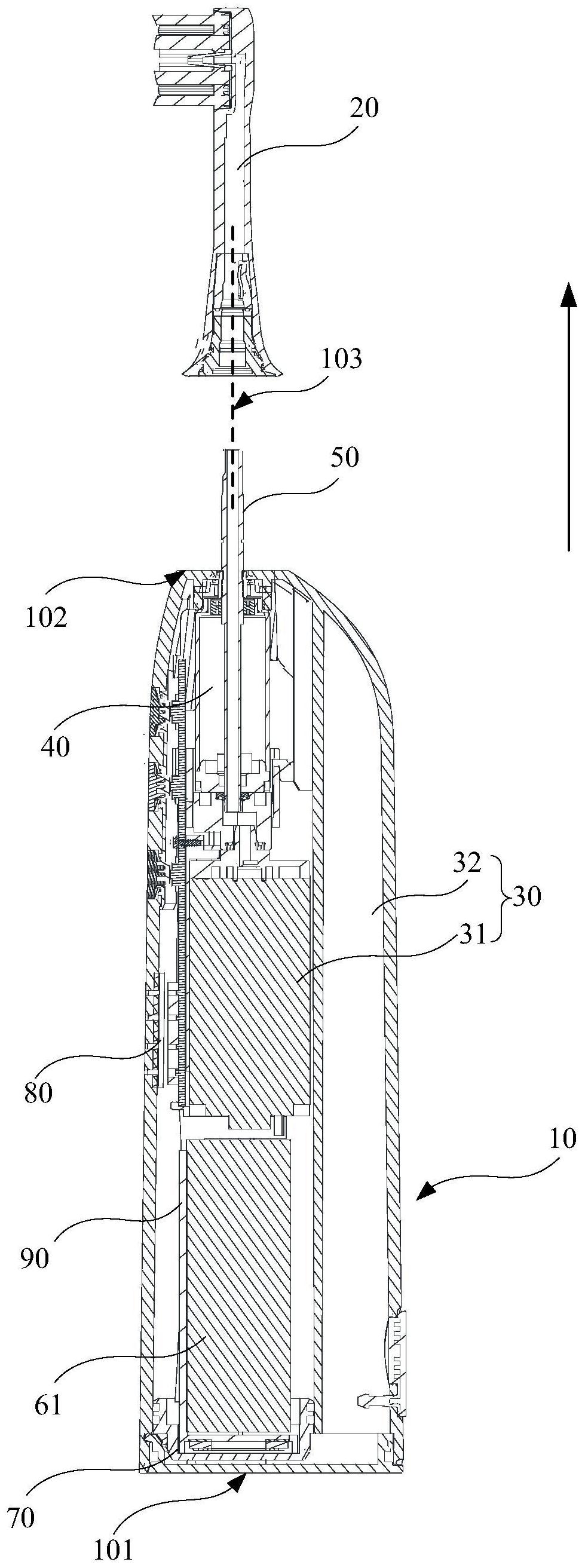
本申请提供一种集成式口腔护理装置,涉及口腔护理技术领域,用于解决目前牙刷柄的整体轮廓较大,影响使用者抓握舒适性的技术问题,该集成式口腔护理装置包括矢量生成单元、复合构件及介质提供单元,矢量生成单元通过矢量传递杆与复合构件连接,矢量传递杆集成有介质输送通道,介质提供单元与复合构件之间通过位于两者之间的介质输送通道连通,即介质提供单元通过介质输送通道向复合构件提供去除异物的介质,以使复合构件能够去除目标区域内的异物。本申请提供的集成式口腔护理装置用于对使用者的口腔进行护理。


