授权公布号:CN114587059B
干燥机构及剃须刀清洁装置
有效
申请
2022-03-09
申请公布
2022-06-07
授权
2024-01-19
预估到期
2042-03-09
| 申请号 | CN202210231933.6 |
| 申请日 | 2022-03-09 |
| 申请公布号 | CN114587059A |
| 申请公布日 | 2022-06-07 |
| 授权公布号 | CN114587059B |
| 授权公告日 | 2024-01-19 |
| 分类号 | A45D27/46;A45D27/48 |
| 分类 | 手携物品或旅行品; |
| 申请人名称 | 深圳素士科技股份有限公司 |
| 申请人地址 | 广东省深圳市南山区桃源街道福光社区留仙大道3370号南山智园崇文园区2号楼1101、1102、1103、1104室及401、402室 |
专利法律状态
2024-01-19
授权
状态信息
授权
2022-06-24
实质审查的生效
状态信息
实质审查的生效;IPC(主分类):A45D27/46;申请日:20220309
2022-06-07
公布
状态信息
公布
摘要
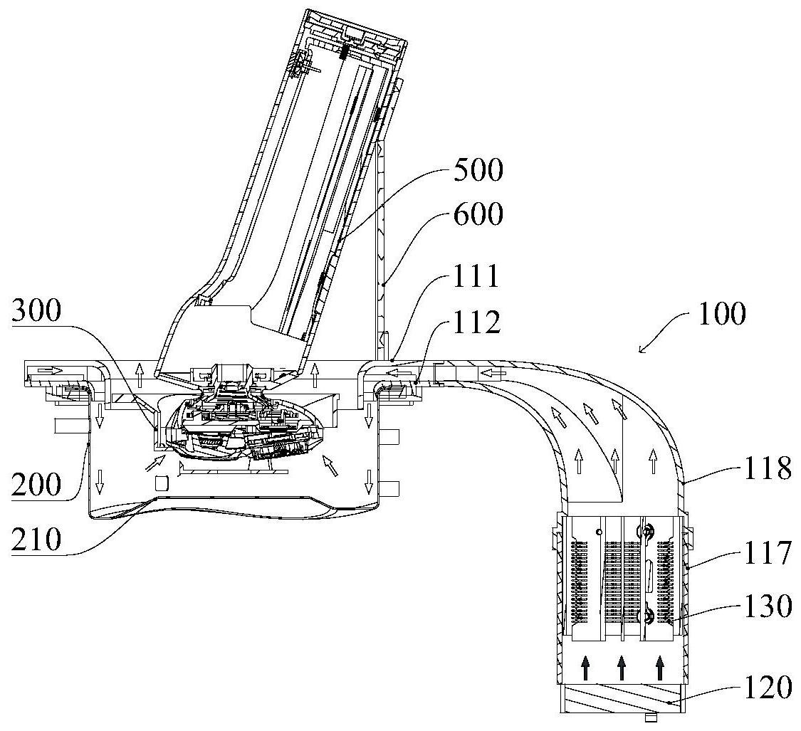
本发明适用于剃须刀清洁技术领域,提供了一种干燥机构及剃须刀清洁装置。干燥机构包括风道、送风组件以及加热组件,风道用于向剃须刀清洁装置中的清洁仓内送风,送风组件安装于风道的进风口处,加热组件安装于风道内,用于为进入风道内的气体加热;风道包括进风段和与进风段连通的送风段,送风组件安装于进风段的进风口处,加热组件安装于进风段内,送风段呈环形结构,具有环形出风口或者沿环形间隔分布的多个出风口。剃须刀清洁装置包括清洁仓和上述各实施例提供的干燥机构。本发明提供的干燥机构及剃须刀清洁装置,干燥效率高,干燥效果良好。


