授权公布号:CN216104880U
一种用于鱼饵包装箱的自动码放装置
有效
申请
2021-10-23
申请公布
1970-01-01
授权
2022-03-22
预估到期
2031-10-23
| 申请号 | CN202122564780.0 |
| 申请日 | 2021-10-23 |
| 授权公布号 | CN216104880U |
| 授权公告日 | 2022-03-22 |
| 分类号 | B65G61/00;B65G57/20 |
| 分类 | 输送;包装;贮存;搬运薄的或细丝状材料; |
| 申请人名称 | 武汉天元千川渔具有限公司 |
| 申请人地址 | 湖北省武汉市新洲区阳逻街阳靠路19号 |
专利法律状态
2022-03-22
授权
状态信息
授权
摘要
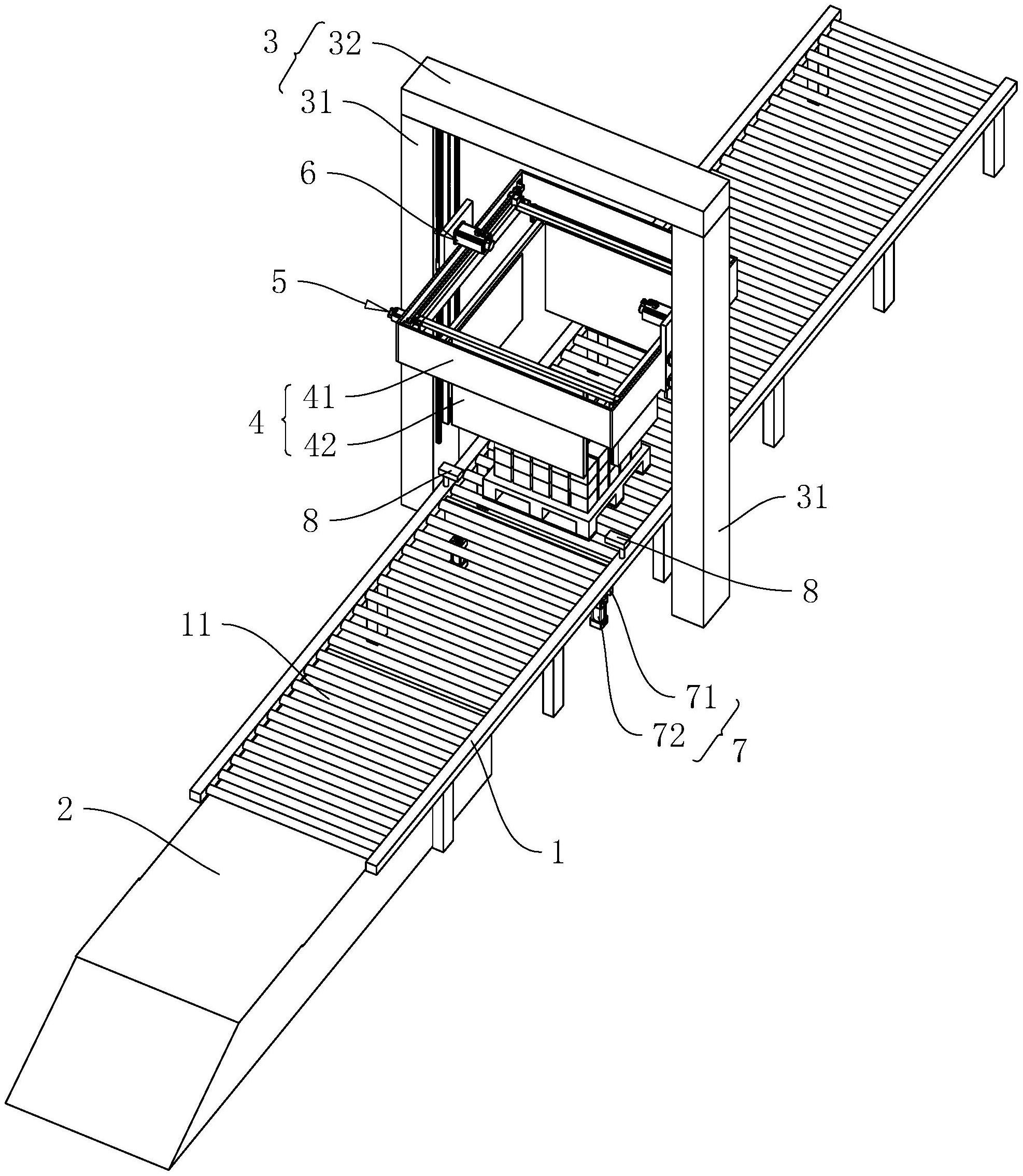
本申请涉及一种用于鱼饵包装箱的自动码放装置,涉及包装箱码放相关机械设备的领域,其包括输料传送带、堆放台以及对正机构,输料传送带由多个相互平行的输送辊及安装于地面上的输送机架构成,用于对托板及托板上的包装箱堆进行传送,以输料传送带的上料端为前端,输料传送带前端与码垛机相连接,堆放台连接于输料传送带后端,对正机构位于输料传送带中部,用于对托板上的包装箱堆进行聚拢对正;本申请中的自动码放装置通过对正机构与输料传送带配合,能够较为方便的实现对托板上的包装箱堆的传运输送以及聚拢对正,提高包装箱堆码放的整齐性和稳定性。


