授权公布号:CN216094761U
一种复合型鱼饵筛分机物料控速装置
有效
申请
2021-10-23
申请公布
1970-01-01
授权
2022-03-22
预估到期
2031-10-23
| 申请号 | CN202122564779.8 |
| 申请日 | 2021-10-23 |
| 授权公布号 | CN216094761U |
| 授权公告日 | 2022-03-22 |
| 分类号 | B07B1/28;B07B1/46 |
| 分类 | 将固体从固体中分离;分选; |
| 申请人名称 | 武汉天元千川渔具有限公司 |
| 申请人地址 | 湖北省武汉市新洲区阳逻街阳靠路19号 |
专利法律状态
2022-03-22
授权
状态信息
授权
摘要
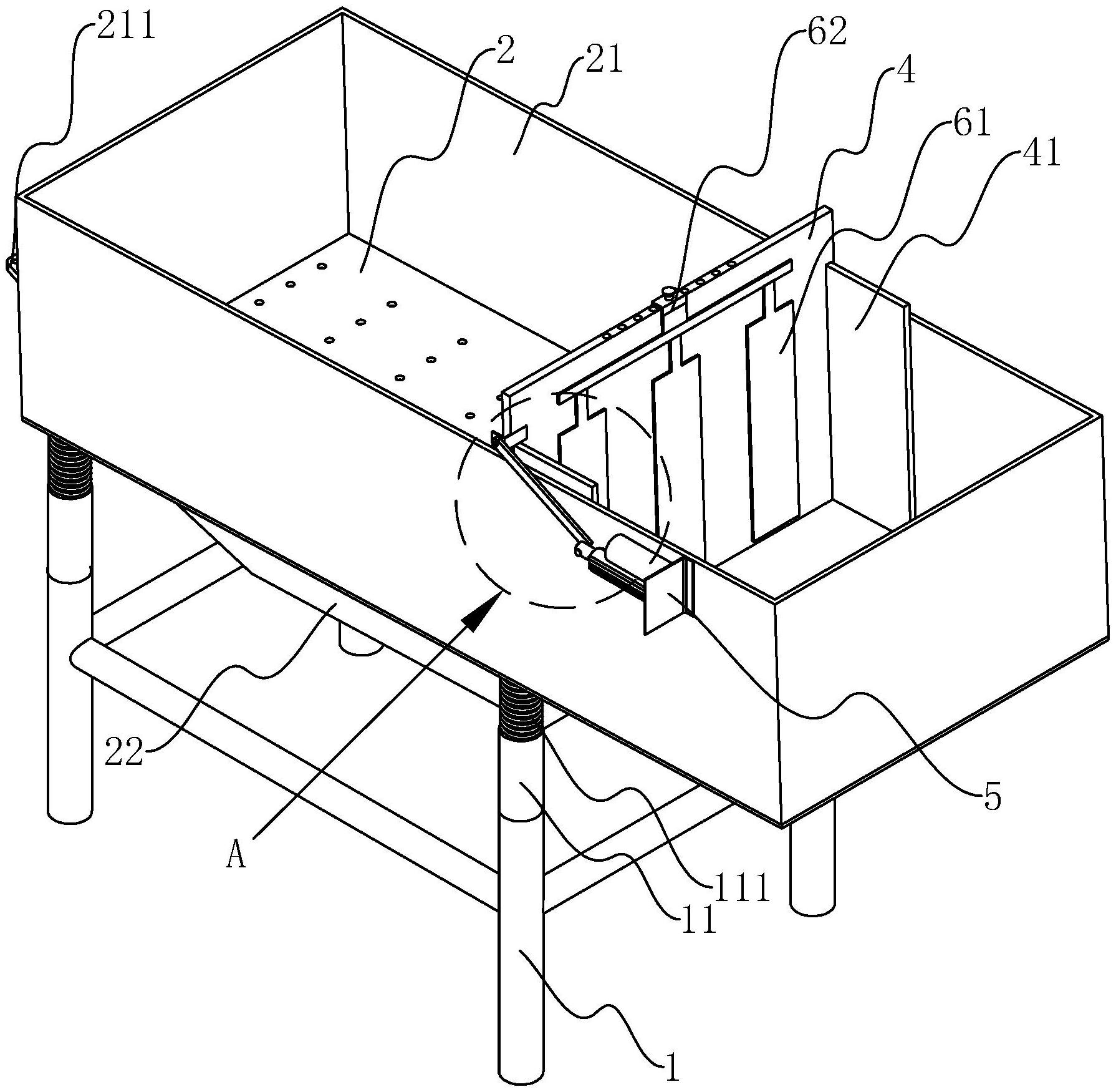
本申请公开了一种复合型鱼饵筛分机物料控速装置其包括设置于挡板内壁上的导轨、滑移于所述导轨内的控速板和设置于挡板上的驱动机构;所述导轨位于出料斗靠近进料端的一侧;所述控速板的底面与筛分板抵接适配,且所述控速板的宽度尺寸不小于筛分板的宽度尺寸;所述驱动机构用于驱使所述控速板靠近或远离筛分板。本申请具有鱼饵不易溢出筛分机并洒落于地面上的效果,有利于降低鱼饵受污染的风险,并提升复合型鱼饵的产品质量,且可以减少鱼饵的浪费。


