授权公布号:CN216104903U
一种鱼饵料加工精准导流输送装置
有效
申请
2021-10-23
申请公布
1970-01-01
授权
2022-03-22
预估到期
2031-10-23
| 申请号 | CN202122564816.5 |
| 申请日 | 2021-10-23 |
| 授权公布号 | CN216104903U |
| 授权公告日 | 2022-03-22 |
| 分类号 | B65G65/32;B02C23/00 |
| 分类 | 输送;包装;贮存;搬运薄的或细丝状材料; |
| 申请人名称 | 武汉天元千川渔具有限公司 |
| 申请人地址 | 湖北省武汉市新洲区阳逻街阳靠路19号 |
专利法律状态
2022-03-22
授权
状态信息
授权
摘要
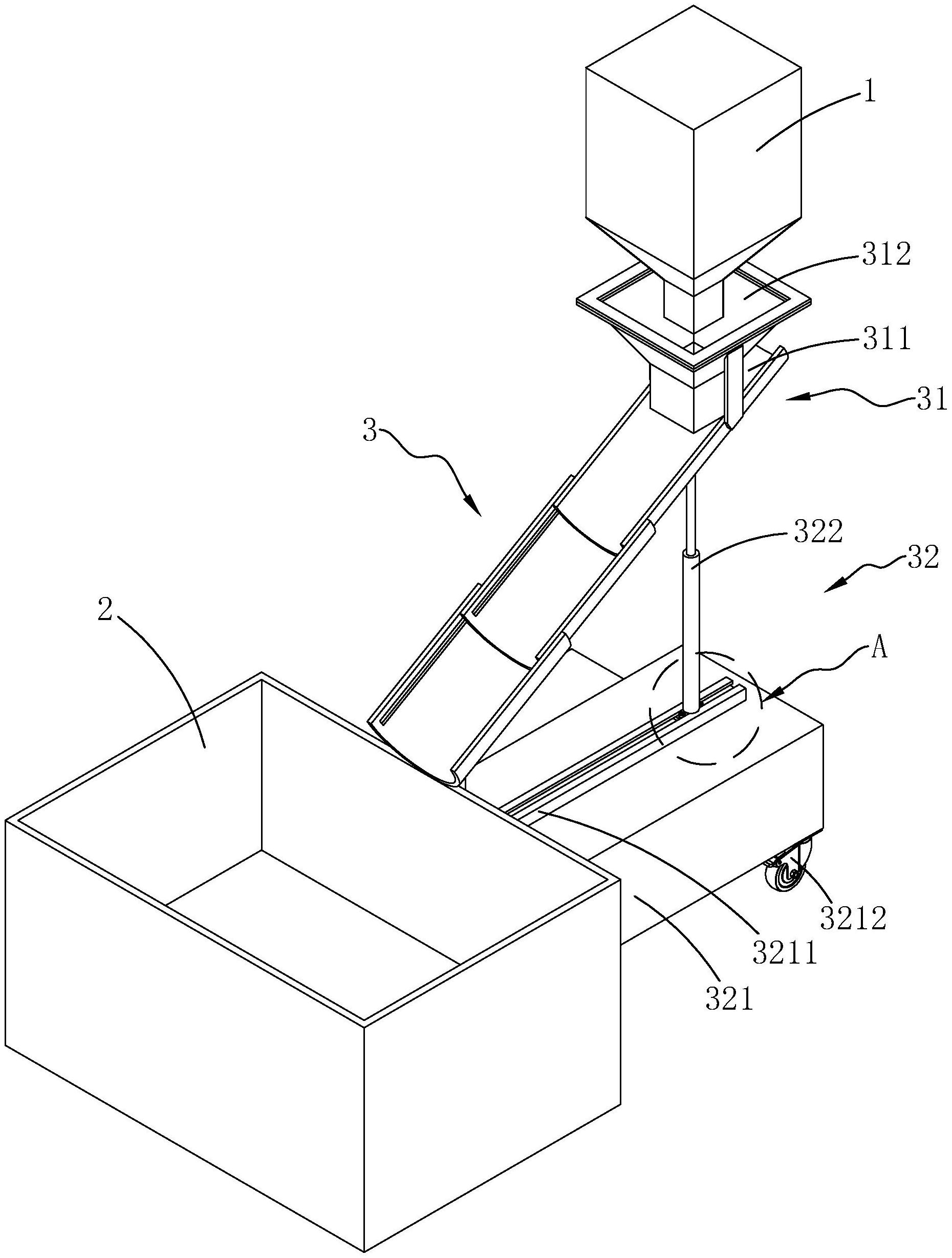
本申请涉及一种鱼饵料加工精准导流输送装置,涉及鱼饵料加工领域,以解决塑料软管容易破损,转移物料时造成物料洒落的问题,其包括设置于粉碎搅拌机出料口和储料仓进料口之间的导流组件,所述导流组件包括用于输送物料的导流件和对导流件进行支撑的支撑件,所述导流件从粉碎搅拌机向储料仓呈倾斜向下设置。本申请具有粉碎搅拌机对物料搅拌后从出料口处排出,物料落至导流件上进行转移,支撑件使导流件处于粉碎搅拌机出料口和储料仓进料口之间,通过导流件能够使搅拌后的物料进入储料仓内,提高物料的转移的效果。


