授权公布号:CN217716305U
一种屏幕检测装置
有效
申请
2022-05-09
申请公布
1970-01-01
授权
2022-11-01
预估到期
2032-05-09
| 申请号 | CN202221174755.X |
| 申请日 | 2022-05-09 |
| 授权公布号 | CN217716305U |
| 授权公告日 | 2022-11-01 |
| 分类号 | G01B11/06 |
| 分类 | 测量;测试; |
| 申请人名称 | 北京转转精神科技有限责任公司 |
| 申请人地址 | 北京市海淀区西小口路66号中关村东升科技园﹒北领地B-2楼2层C203、C205室 |
专利法律状态
2022-11-01
授权
状态信息
授权
摘要
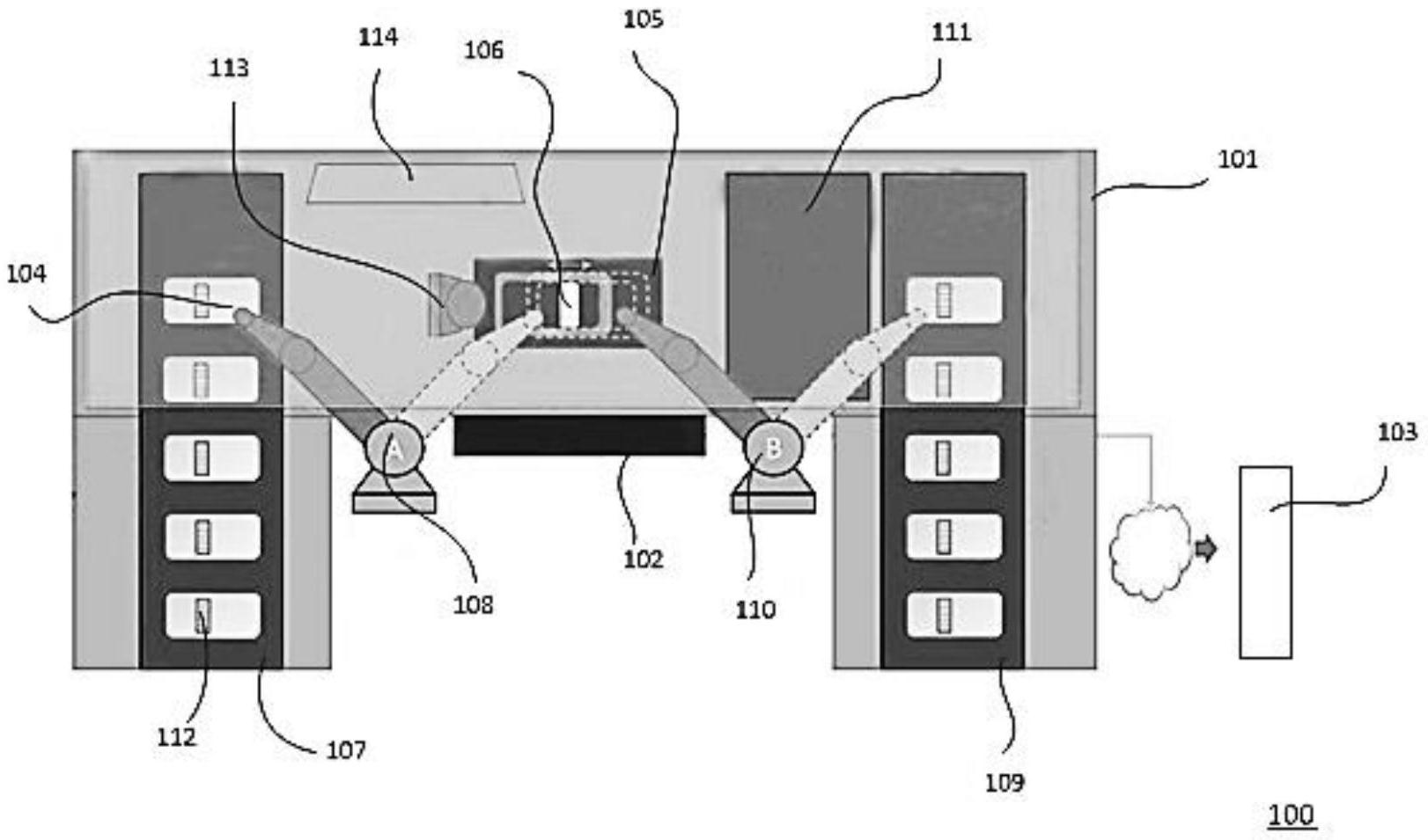
本实用新型涉及一种屏幕检测装置,屏幕检测装置包括:工作台和光学相干层析OCT检测设备,其中,工作台用于放置OCT检测设备;OCT检测设备用于对目标电子设备的屏幕进行OCT光学成像处理以获取屏幕中的多个层结构的层厚度信息,多个层结构的层厚度信息用于确定屏幕是否为目标电子设备的原装屏幕和/或确定所述多个层结构中是否存在非原装的层结构。本申请实施例可用于对二手电子设备的检测。


