授权公布号:CN217945796U
防变形的产品包装抽真空整形装置及自动生产线
有效
申请
2022-07-28
申请公布
1970-01-01
授权
2022-12-02
预估到期
2032-07-28
| 申请号 | CN202221979348.6 |
| 申请日 | 2022-07-28 |
| 授权公布号 | CN217945796U |
| 授权公告日 | 2022-12-02 |
| 分类号 | B65B61/24;B65B31/04 |
| 分类 | 输送;包装;贮存;搬运薄的或细丝状材料; |
| 申请人名称 | 湖南郴州粮油机械有限公司 |
| 申请人地址 | 湖南省郴州市高新技术产业开发区鹿仙路9号 |
专利法律状态
2022-12-02
授权
状态信息
授权
摘要
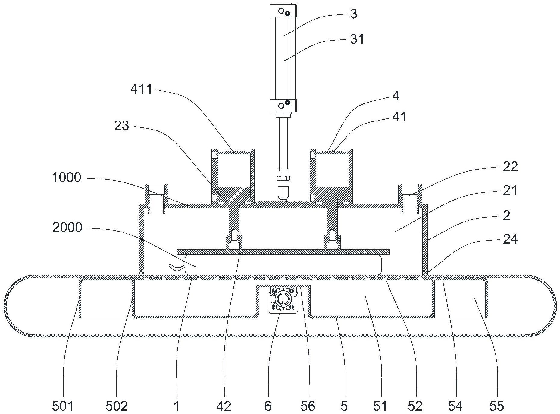
本实用新型公开了一种防变形的产品包装抽真空整形装置及自动生产线,其中,所述防变形的产品包装抽真空整形装置包括输送带、设于输送带上方的上壳体、用于驱动上壳体升降移动的升降机构、用于下压输送带上的待包装产品的整形机构,以及设于输送带下方的下壳体;上壳体用于扣合至输送带上并与输送带共同围合成第一腔体,下壳体抵靠输送带的底面并设有第二腔体,下壳体的顶面布设有多个吸附孔,上壳体设有第一气管接头,下壳体设有第二气管接头,第一、第二气管接头均用于与真空泵连接。本实用新型提供的防变形的产品包装抽真空整形装置能够将输送带牢牢吸附在下壳体的顶面上,使输送带保持平整,从而避免产品包装发生变形,提升包装效果。


