授权公布号:CN110068143B
一种分体式热风炉
有效
申请
2019-05-28
申请公布
2019-07-30
授权
2024-01-26
预估到期
2039-05-28
| 申请号 | CN201910451439.9 |
| 申请日 | 2019-05-28 |
| 申请公布号 | CN110068143A |
| 申请公布日 | 2019-07-30 |
| 授权公布号 | CN110068143B |
| 授权公告日 | 2024-01-26 |
| 分类号 | F24H3/06;F24H9/189;F24H9/00;F24H9/20;F24H15/235;F24H15/345;F24H15/36;F24H15/208 |
| 分类 | 供热;炉灶;通风; |
| 申请人名称 | 湖南郴州粮油机械有限公司 |
| 申请人地址 | 湖南省郴州市苏仙区白露塘镇郴州有色金属产业园区福城大道(郴州市金贵银业股份有限公司旁) |
专利法律状态
2024-01-26
授权
状态信息
授权
2019-08-23
实质审查的生效
状态信息
实质审查的生效;IPC(主分类):F24H3/06;申请日:20190528
2019-07-30
公布
状态信息
公布
摘要
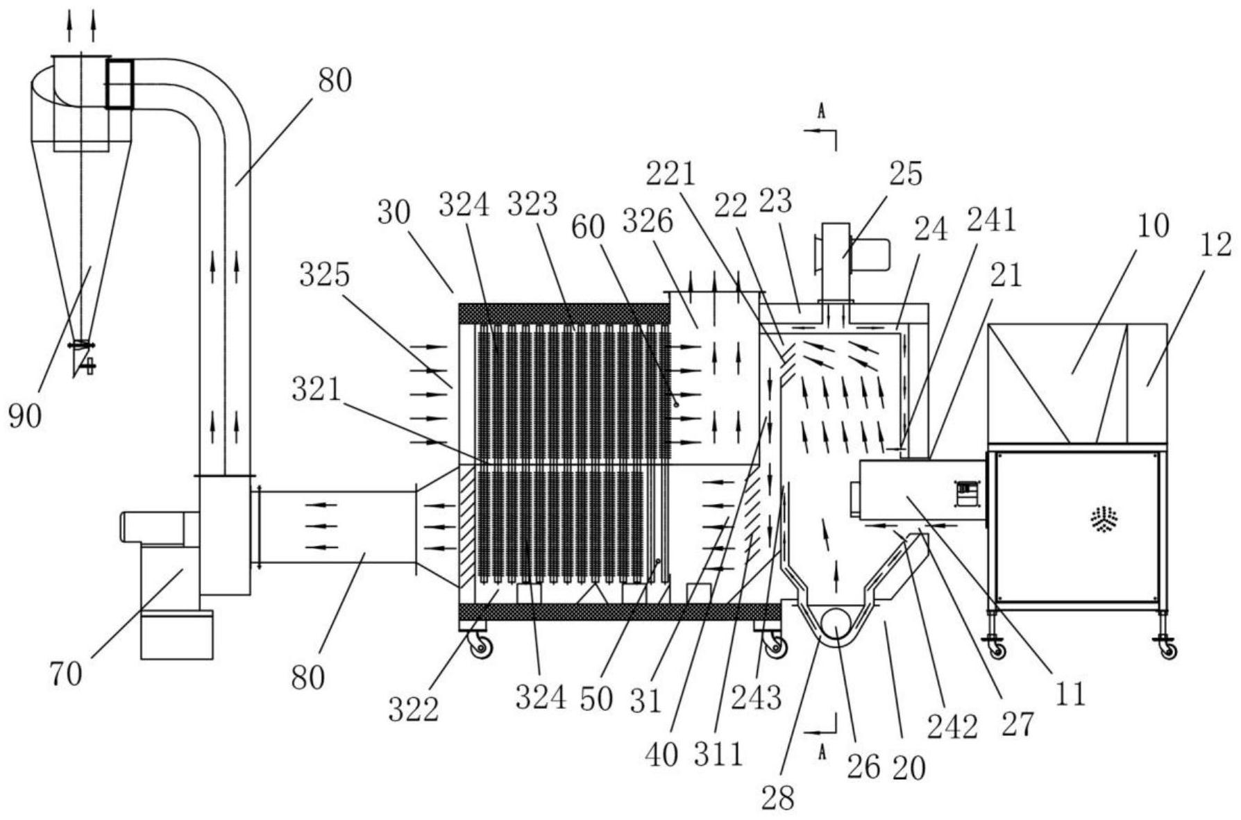
本发明公开了一种分体式热风炉,包括燃烧机、二次燃烧炉和烟气换热装置,燃烧机的火焰喷嘴与二次燃烧炉的火焰接收口连通,二次燃烧炉的烟气出口与烟气换热装置的烟气入口连通,二次燃烧炉的炉壁内设有进气夹层,炉壁上安装一送风机,送风机的出风口与进气夹层的空气入口连通,进气夹层通过进风口与二次燃烧炉的炉膛连通。该分体式热风炉的热量损失小,热量利用率高,生物质颗粒燃烧充分,环保,并且方便调节烟气温度,适用于燃烧多种林业和农业生物质边角料制造的颗粒燃料不结渣。


