授权公布号:CN109900102B
分段干燥设备
有效
申请
2019-04-04
申请公布
2019-06-18
授权
2024-01-23
预估到期
2039-04-04
| 申请号 | CN201910273234.6 |
| 申请日 | 2019-04-04 |
| 申请公布号 | CN109900102A |
| 申请公布日 | 2019-06-18 |
| 授权公布号 | CN109900102B |
| 授权公告日 | 2024-01-23 |
| 分类号 | F26B17/12;F26B21/04;F26B25/00 |
| 分类 | 干燥; |
| 申请人名称 | 湖南郴州粮油机械有限公司 |
| 申请人地址 | 湖南省郴州市苏仙区白露塘镇郴州有色金属产业园区福城大道(郴州市金贵银业股份有限公司旁) |
专利法律状态
2024-01-23
授权
状态信息
授权
2019-07-12
实质审查的生效
状态信息
实质审查的生效;IPC(主分类):F26B17/12;申请日:20190404
2019-06-18
公布
状态信息
公布
摘要
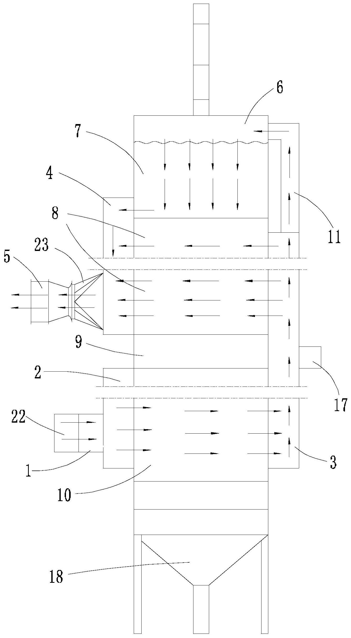
本发明提供了一种分段干燥设备。分段干燥设备包括热风送风机、热风输入箱、温湿热风转移箱、冷却风输出箱、抽风设备以及贯通设置的缓冲层、保温保湿缓苏层、核心干燥层、中间缓苏层和含湿热风干燥层;热风送风机通过热风输入箱与核心干燥层连通,抽风设备通过冷却风输出箱与含湿热风干燥层连通;核心干燥层侧壁设置转移出风口,含湿热风干燥层的侧壁上设置有转移进风口,转移出风口与转移进风口通过温湿热风转移箱连通;热风送风机和抽风设备沿分段干燥设备的高度方向同侧设置。本申请提供的分段干燥设备,干燥效率高,更节能,被干燥谷物的爆腰率增加值、裂纹率增加值及破碎率增加值低,保证发芽率不降低,食味值、外观和加工性能等品质更好。


