授权公布号:CN218578159U
组装式上袋装置及包装机
有效
申请
2022-09-01
申请公布
1970-01-01
授权
2023-03-07
预估到期
2032-09-01
| 申请号 | CN202222332532.8 |
| 申请日 | 2022-09-01 |
| 授权公布号 | CN218578159U |
| 授权公告日 | 2023-03-07 |
| 分类号 | B65B43/30 |
| 分类 | 输送;包装;贮存;搬运薄的或细丝状材料; |
| 申请人名称 | 湖南郴州粮油机械有限公司 |
| 申请人地址 | 湖南省郴州市高新技术产业开发区鹿仙路9号 |
专利法律状态
2023-03-07
授权
状态信息
授权
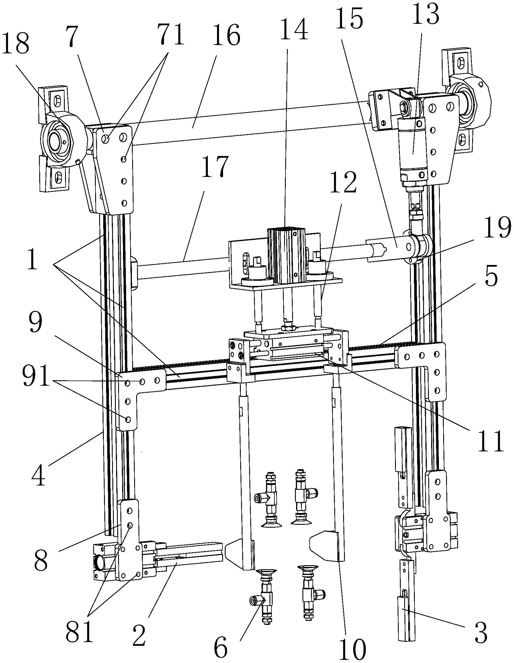
摘要
本实用新型公开了一种组装式上袋装置及包装机,包括:固定设置于包装机的转动组件;具有调节构造的连接架,其第一端通过第一调节件与转动组件连接;用于夹紧塑封袋的夹紧机构,通过第二调节件安装于连接架,用于将塑封袋的袋口分离张开的张袋机构;用于在塑封袋袋口张开后伸入塑封袋并使塑封袋的袋口保持撑开状态的撑袋机构;上袋驱动机构,用于驱动连接架转动进而将撑开的塑封袋转移至灌装装置并与灌装口上下正对。通过各调节件即可对夹紧机构和连接架的相对位置微调,便于组装式上袋装置的试机调试以及后期维护,保证夹紧机构的夹紧面闭合时与被张开的塑封袋的袋口中心位置一致,降低生产加工精度带来的误差造成的影响。


