授权公布号:CN218128104U
萃取装置以及饮品机
有效
申请
2022-06-02
申请公布
1970-01-01
授权
2022-12-27
预估到期
2032-06-02
| 申请号 | CN202221373062.3 |
| 申请日 | 2022-06-02 |
| 授权公布号 | CN218128104U |
| 授权公告日 | 2022-12-27 |
| 分类号 | A47J31/44 |
| 分类 | 家具;家庭用的物品或设备;咖啡磨;香料磨;一般吸尘器; |
| 申请人名称 | 鸿海精密工业股份有限公司 |
| 申请人地址 | 中国台湾新北市土城区中山路66号 |
专利法律状态
2022-12-27
授权
状态信息
授权
摘要
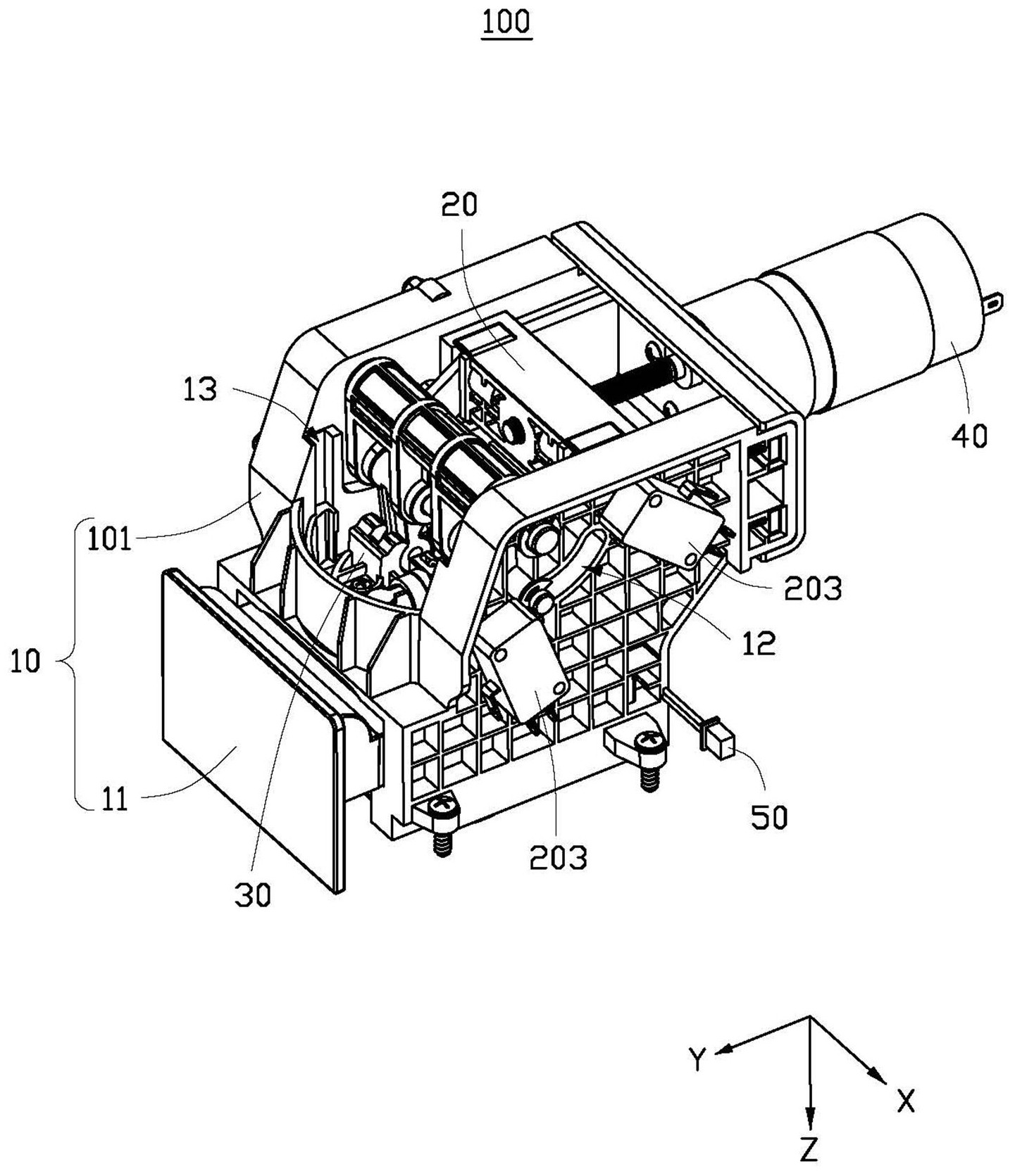
本申请公开一种萃取装置以及饮品机。萃取装置包括机架、传动机构以及活动组件。机架设有托料件,以用于承载饮品胶囊,传动机构与活动组件连接,在传动机构受力时能够驱动活动组件靠近和远离托料件。活动组件包括压合头和柔性密封件,压合头与传动机构连接,压合头朝向托料件的一侧设置有萃取件,萃取件与液体管路连通,柔性密封件与压合头朝向托料件的一侧连接。萃取装置还包括电机、行程开关及控制器。电机输出端与传动机构连接,以能够通过传动机构驱动压合头靠近和远离托料件。电机与控制器和行程开关电连接,以能够及时启动和停止。本申请中控制器和行程开关配合可以让电机及时停止,起到保护电机的作用。


