授权公布号:CN219173230U
一种石膏输送结构
有效
申请
2023-03-10
申请公布
1970-01-01
授权
2023-06-13
预估到期
2033-03-10
| 申请号 | CN202320442042.5 |
| 申请日 | 2023-03-10 |
| 授权公布号 | CN219173230U |
| 授权公告日 | 2023-06-13 |
| 分类号 | B65D88/74;B65D90/12 |
| 分类 | 输送;包装;贮存;搬运薄的或细丝状材料; |
| 申请人名称 | 安徽金森源环保工程有限公司 |
| 申请人地址 | 安徽省阜阳市颍东区(经济开发区)新华街道办事处兴业路28号 |
专利法律状态
2023-06-13
授权
状态信息
授权
摘要
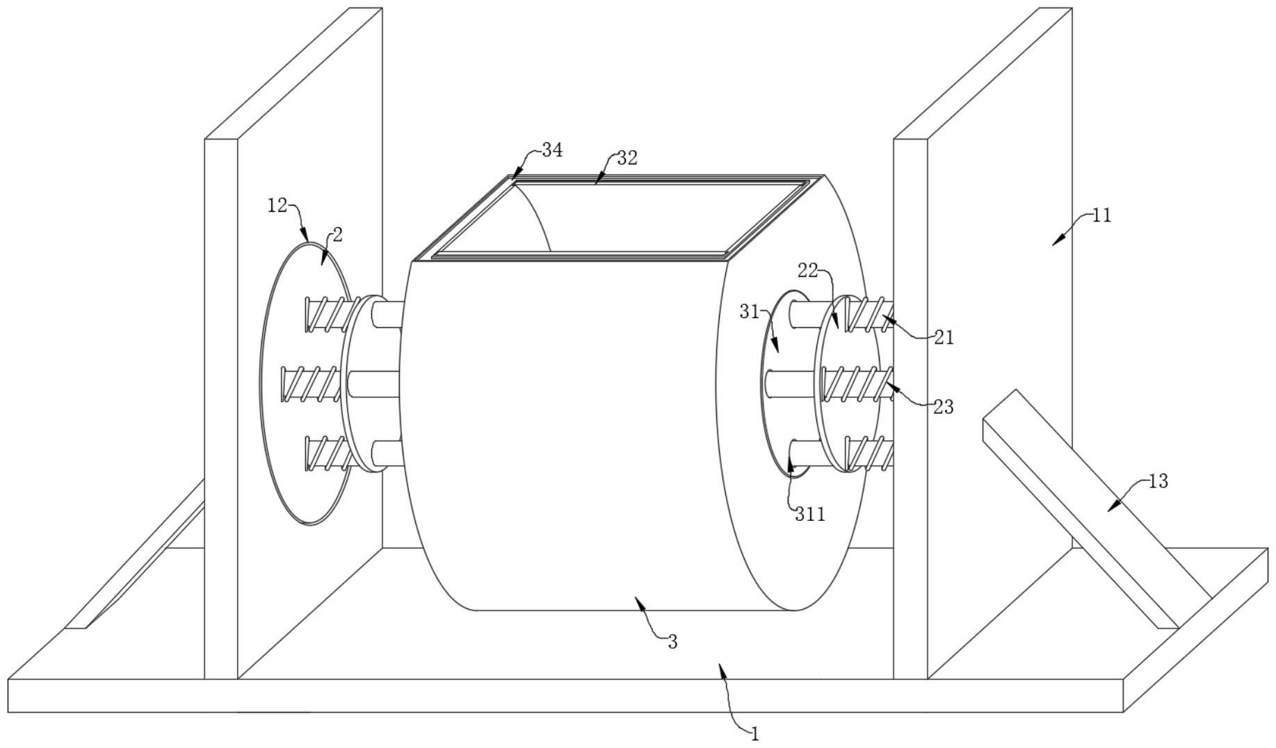
本实用新型属于石膏压滤产后输送技术领域,尤其为一种石膏输送结构,包括底板,两个所述外转板之间固定连接有支撑杆,所述底板上方设有储料箱,所述储料箱内壁铰接有两个环形块,两个所述环形块之间固定连接有若干个固定杆,若干个所述固定杆一端可拆卸连接有刮板;通过外转板、支撑杆和内转板组成能够使储料箱处于支撑杆上进行滑动和转动的组件,储料箱能够进行来回的滑动和转动,并且在储料箱不停的滑动和转动时,石膏细粉同样会不停的晃动,再通过环形块和刮板能够对储料箱内的石膏细粉进行刮式。


