授权公布号:CN113230923B
一种脱硫脱硝废液降解处理装置
有效
申请
2021-06-02
申请公布
2021-08-10
授权
2021-12-03
预估到期
2041-06-02
| 申请号 | CN202110615970.2 |
| 申请日 | 2021-06-02 |
| 申请公布号 | CN113230923A |
| 申请公布日 | 2021-08-10 |
| 授权公布号 | CN113230923B |
| 授权公告日 | 2021-12-03 |
| 分类号 | B01F7/00;B01F7/18;B01F15/00;B01F15/02;C02F1/52;C02F1/58;C02F1/66;C02F103/18N |
| 分类 | 一般的物理或化学的方法或装置; |
| 申请人名称 | 安徽金森源环保工程有限公司 |
| 申请人地址 | 安徽省阜阳市颍东区(经济开发区)新华街道办事处兴业路28号 |
专利法律状态
2021-12-03
授权
状态信息
授权
2021-08-27
实质审查的生效
状态信息
实质审查的生效;IPC(主分类):B01F7/00;申请日:20210602
2021-08-10
公布
状态信息
公布
摘要
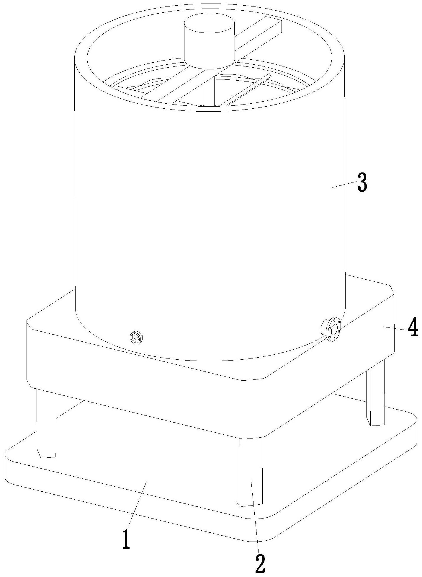
本发明涉及一种脱硫脱硝废液降解处理装置,包括底板架、支撑架、处理装置和清理装置,所述的底板架上端均匀安装有支撑架,支撑架上端固定安装有清理装置,清理装置呈矩形结构,清理装置上端安装有处理装置。本发明可以解决现有的设备在对废液中添加药剂时,加药效果差、混合不均匀,不能够有效地将药剂与废液充分混合,导致废液内部的杂质去除效果差,导致排放后的废液中扔残留较多杂质,同时现有的设备在对废液进行处理时,通常不能够准确的将沉淀后的杂质去除,需要人工进行清理,导致杂质的去除效果差、效率低,影响后续使用等难题。


