授权公布号:CN215539547U
一种高温高粘度烟气除尘装置
有效
申请
2021-03-11
申请公布
1970-01-01
授权
2022-01-18
预估到期
2031-03-11
| 申请号 | CN202120515226.0 |
| 申请日 | 2021-03-11 |
| 授权公布号 | CN215539547U |
| 授权公告日 | 2022-01-18 |
| 分类号 | B01D50/20;B01D46/12 |
| 分类 | 一般的物理或化学的方法或装置; |
| 申请人名称 | 安徽金森源环保工程有限公司 |
| 申请人地址 | 安徽省阜阳市颍东区(经济开发区)新华街道办事处兴业路28号 |
专利法律状态
2022-01-18
授权
状态信息
授权
摘要
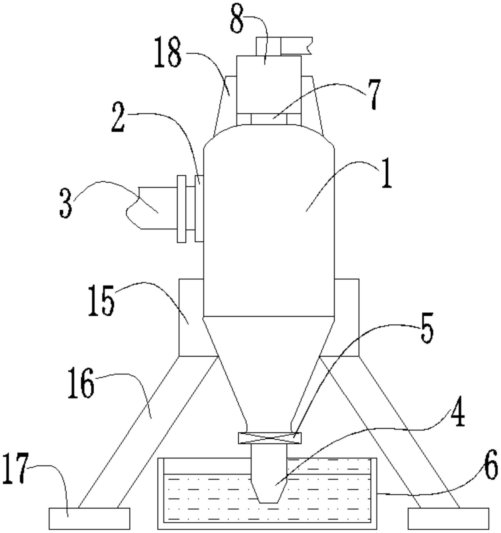
本实用新型提供一种高温高粘度烟气除尘装置,所述耐高温旋风分离器的左侧设置有进孔,并且进孔与进气管相连通,所述耐高温旋风分离器的底部连通有粘尘自排管,并且粘尘自排管的内部设置有阀门,所述粘尘自排管的底部设置有水封槽,并且水封槽的内部设置有清水,所述耐高温旋风分离器的顶部连通有烟气排放管,所述烟气排放管的顶端连通有过滤装置,并且过滤装置的出口通过导管与余热回收机构相连通。本实用新型提供的高温高粘度烟气除尘装置,解决了高温高粘度烟气除尘装置除尘效果一般,烟气中任残留较多的灰尘积存堵塞设备与管道的问题。


