授权公布号:CN111388211B
微压富氧救护车担架
有效
申请
2020-03-10
申请公布
2020-07-10
授权
2022-01-07
预估到期
2040-03-10
| 申请号 | CN202010162213.X |
| 申请日 | 2020-03-10 |
| 申请公布号 | CN111388211A |
| 申请公布日 | 2020-07-10 |
| 授权公布号 | CN111388211B |
| 授权公告日 | 2022-01-07 |
| 分类号 | A61G1/02;A61G1/04;A61M16/00;A61G3/00;A61G10/02 |
| 分类 | 医学或兽医学;卫生学; |
| 申请人名称 | 杭州创威实业股份有限公司 |
| 申请人地址 | 浙江省杭州市市辖区杭州大江东产业集聚区纬五路3688号3号楼东侧2层 |
专利法律状态
2022-01-07
授权
状态信息
授权
2020-08-21
实质审查的生效
状态信息
实质审查的生效;IPC(主分类):A61G1/02;申请日:20200310
2020-07-10
公布
状态信息
公布
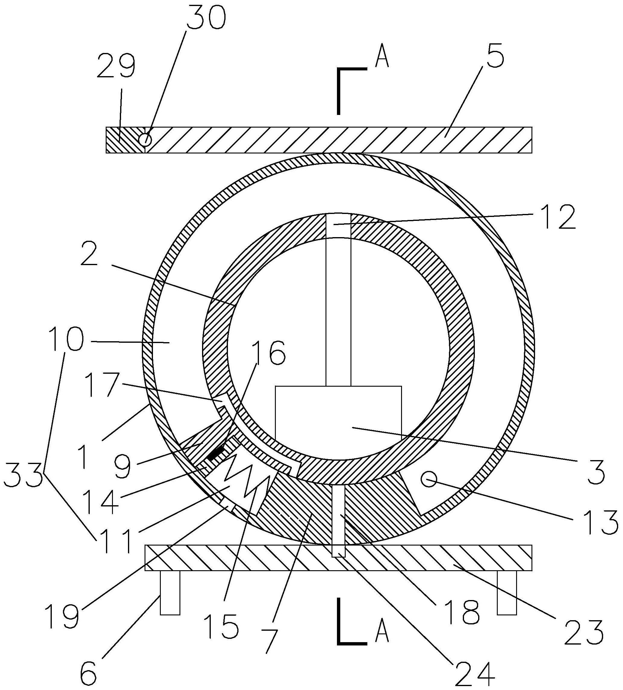
摘要
本发明公开了一种微压富氧救护车担架,涉及微压富氧救护车零部件技术领域;包括外筒、内筒、压缩机、制氧机、床板、滚轮,外筒内部下侧设有支撑块,外筒、内筒、支撑块围成腔体,腔体内布置有若干隔板,隔板将腔体分隔呈若干呈C形的滑槽,滑槽内设有固接在内筒上的活塞,活塞将滑槽分隔成第一分腔体、第二分腔体,内筒上设有进气孔,进气孔上设有电动阀门,隔板上设有孔洞,第二分腔体内设有挤压块、弹簧,挤压块上设有压力传感器,内筒的侧壁内设有若干气道,支撑块上设有若干出气孔,外筒上设有第二孔洞,内筒的一端设有封堵板,内筒的另一端内侧插设有连接柱,内筒与连接柱之间设有密封圈。本发明便捷。


