授权公布号:CN111419562B
带供氧装置的轮椅
有效
申请
2020-03-31
申请公布
2020-07-17
授权
2022-01-25
预估到期
2040-03-31
| 申请号 | CN202010242961.9 |
| 申请日 | 2020-03-31 |
| 申请公布号 | CN111419562A |
| 申请公布日 | 2020-07-17 |
| 授权公布号 | CN111419562B |
| 授权公告日 | 2022-01-25 |
| 分类号 | A61G5/02;A61G5/10;A61M16/00 |
| 分类 | 医学或兽医学;卫生学; |
| 申请人名称 | 杭州创威实业股份有限公司 |
| 申请人地址 | 浙江省杭州市萧山区杭州大江东产业集聚区纬五路3688号3号楼东侧2层 |
专利法律状态
2022-01-25
授权
状态信息
授权
2020-07-17
公布
状态信息
公布
摘要
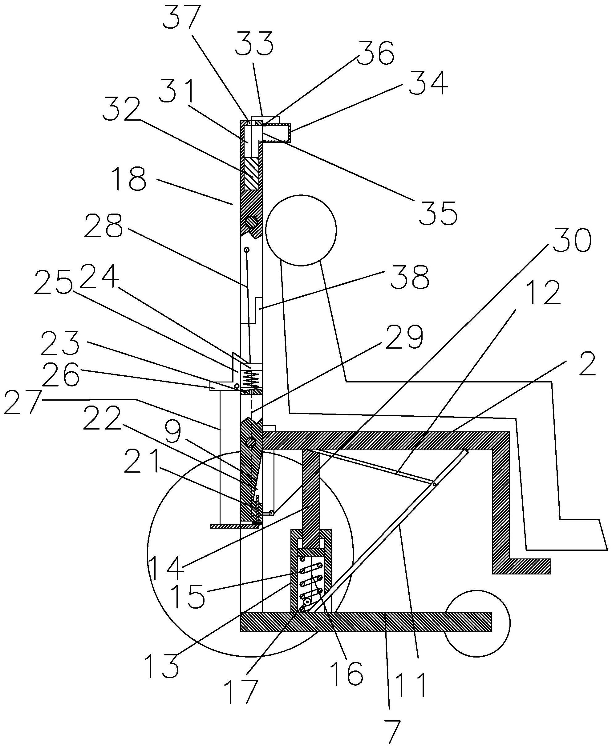
本发明公开了一种带供氧装置的轮椅,涉及轮椅技术领域;包括座板、椅背、滚轮、供氧装置、用于改变椅背与座板角度的调节机构。利用供氧装置进行供氧,让病人可以吸氧,另外,调节机构可以调整椅背和座板的角度,让病人向后仰,从而使得病人倾向于仰卧状,更加舒适,有利于吸氧。


