授权公布号:CN213841388U
一种旋转排水式二氧化碳热泵
有效
申请
2020-11-05
申请公布
1970-01-01
授权
2021-07-30
预估到期
2030-11-05
| 申请号 | CN202022538834.1 |
| 申请日 | 2020-11-05 |
| 授权公布号 | CN213841388U |
| 授权公告日 | 2021-07-30 |
| 分类号 | F25B9/00;F25B30/02;F26B5/08;F26B25/02 |
| 分类 | 制冷或冷却;加热和制冷的联合系统;热泵系统;冰的制造或储存;气体的液化或固化; |
| 申请人名称 | 杭州创威实业股份有限公司 |
| 申请人地址 | 浙江省杭州市萧山区杭州大江东产业集聚区纬五路3688号3号楼东侧1、2层 |
专利法律状态
2021-07-30
授权
状态信息
授权
摘要
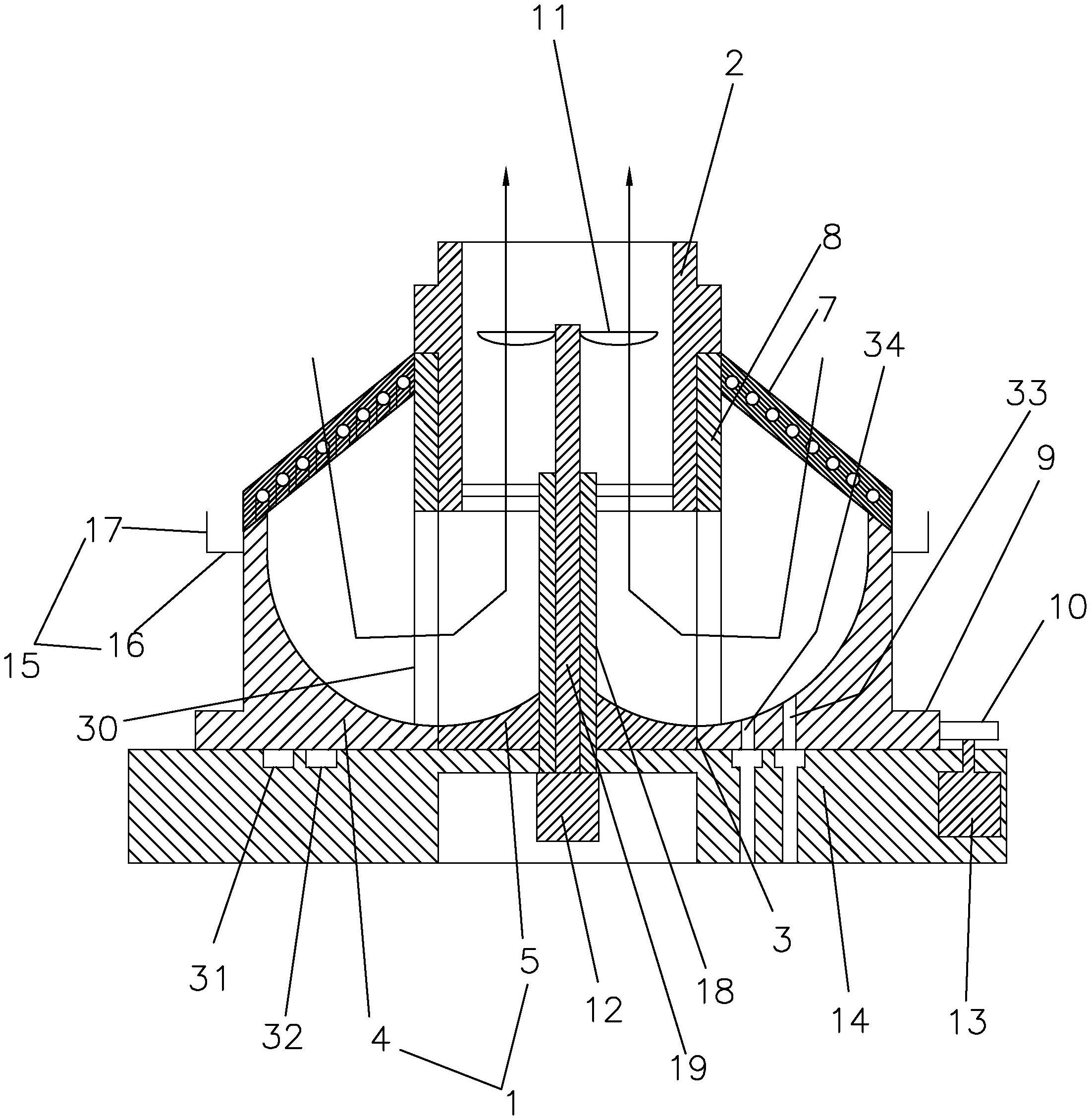
本实用新型公开了一种旋转排水式二氧化碳热泵,涉及二氧化碳热泵技术领域;包括底壳、排风筒、风扇、用于转动风扇的第一电机、呈圆台形的外缘连接在底壳外侧上沿的用于吸收空气中的热量的吸热机构、转动连接在排风筒上的用于支撑吸热机构内缘的支撑套、位于支撑套和底壳之间的用于连接彼此的连接柱、用于支撑排风筒的支撑轴套、穿过支撑轴套的转轴;转轴上端和风扇连接,转轴下端和第一电机连接;吸热机构的内缘所在高度高于其外缘所在高度;底壳包括底部设有孔洞的外支架、位于孔洞内的固定座;外支架上连接有驱动装置。本实用新型提出一种旋转排水式二氧化碳热泵,吸热效率高,可以将翅片上的水珠甩出。


