授权公布号:CN212564900U
一种氧氮分离系统用阀座
有效
申请
2020-05-13
申请公布
1970-01-01
授权
2021-02-19
预估到期
2030-05-13
| 申请号 | CN202020793333.5 |
| 申请日 | 2020-05-13 |
| 授权公布号 | CN212564900U |
| 授权公告日 | 2021-02-19 |
| 分类号 | F16L55/00;F16L15/08 |
| 分类 | 工程元件或部件;为产生和保持机器或设备的有效运行的一般措施;一般绝热; |
| 申请人名称 | 杭州创威实业股份有限公司 |
| 申请人地址 | 浙江省杭州市萧山区杭州大江东产业集聚区纬五路3688号3号楼东侧1、2层 |
专利法律状态
2021-02-19
授权
状态信息
授权
摘要
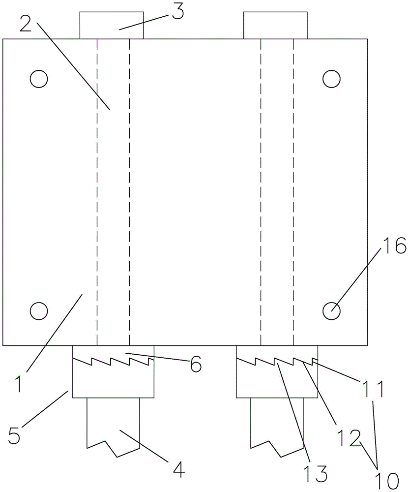
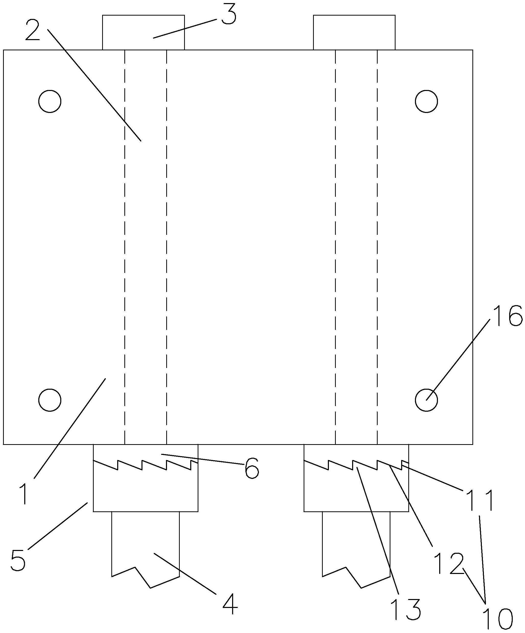
本实用新型公开了一种氧氮分离系统用阀座,涉及氧氮分离系统零部件技术领域;包括主体、若干位于主体内的通道、连接在通道一端的阀门、连接在通道另一端的管道,所述管道与通道之间设有防松机构。主体固定在机架上,阀门集中布置在主体上,管道集中连接在主体上,从而使得结构更加紧凑,方便后期维护和维修,另外,机架在工作的时候震动比较大,为了防止管道松开,设置防松机构。


