授权公布号:CN111395891B
微压富氧救护车用的泄压门把手
有效
申请
2020-03-10
申请公布
2020-07-10
授权
2021-04-20
预估到期
2040-03-10
| 申请号 | CN202010161724.X |
| 申请日 | 2020-03-10 |
| 申请公布号 | CN111395891A |
| 申请公布日 | 2020-07-10 |
| 授权公布号 | CN111395891B |
| 授权公告日 | 2021-04-20 |
| 分类号 | E05B83/00;F16K3/02;F16K31/05;E05B81/76;F16K31/143;E05B85/10 |
| 分类 | 锁;钥匙;门窗零件;保险箱; |
| 申请人名称 | 杭州创威实业股份有限公司 |
| 申请人地址 | 浙江省杭州市市辖区杭州大江东产业集聚区纬五路3688号3号楼东侧2层 |
专利法律状态
2021-04-20
授权
状态信息
授权
2020-08-21
实质审查的生效
状态信息
实质审查的生效
2020-07-10
公布
状态信息
公布
摘要
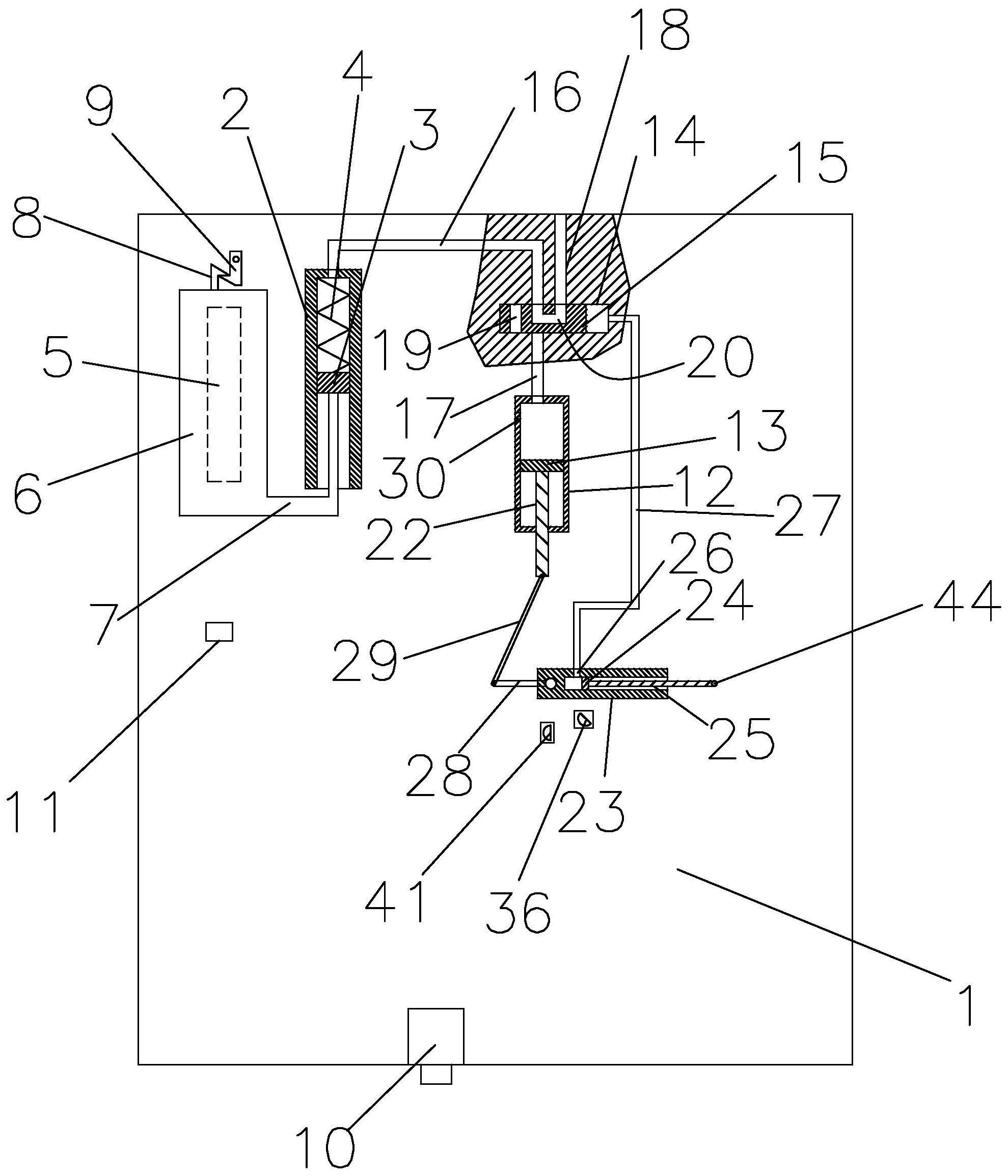
本发明公开了一种微压富氧救护车用的泄压门把手,涉及微压富氧救护车零部件技术领域;包括手柄、缸体、活塞、弹簧、泄压孔、封堵板、连接杆、卡头、第二卡头、泄压触发器、锁芯、开锁触发器、压力感应器,泄压触发器与压力感应器均位于门体上,压力感应器位于封堵板下方,泄压触发器与开锁触发器位于手柄转动半径内,弹簧上端连接在缸体上端,弹簧下端连接在活塞上,缸体下端与车厢内部连通,缸体上端与车厢外部连通。本发明提出一种微压富氧救护车用的泄压门把手。能防止人在没有泄压时打开车门,从而提高了安全性。


