授权公布号:CN213778224U
一种防水型二氧化碳热泵
有效
申请
2020-11-05
申请公布
1970-01-01
授权
2021-07-23
预估到期
2030-11-05
| 申请号 | CN202022538812.5 |
| 申请日 | 2020-11-05 |
| 授权公布号 | CN213778224U |
| 授权公告日 | 2021-07-23 |
| 分类号 | F25B9/00;F25B30/02;F25D23/06;F25D23/00 |
| 分类 | 制冷或冷却;加热和制冷的联合系统;热泵系统;冰的制造或储存;气体的液化或固化; |
| 申请人名称 | 杭州创威实业股份有限公司 |
| 申请人地址 | 浙江省杭州市萧山区杭州大江东产业集聚区纬五路3688号3号楼东侧1、2层 |
专利法律状态
2021-07-23
授权
状态信息
授权
摘要
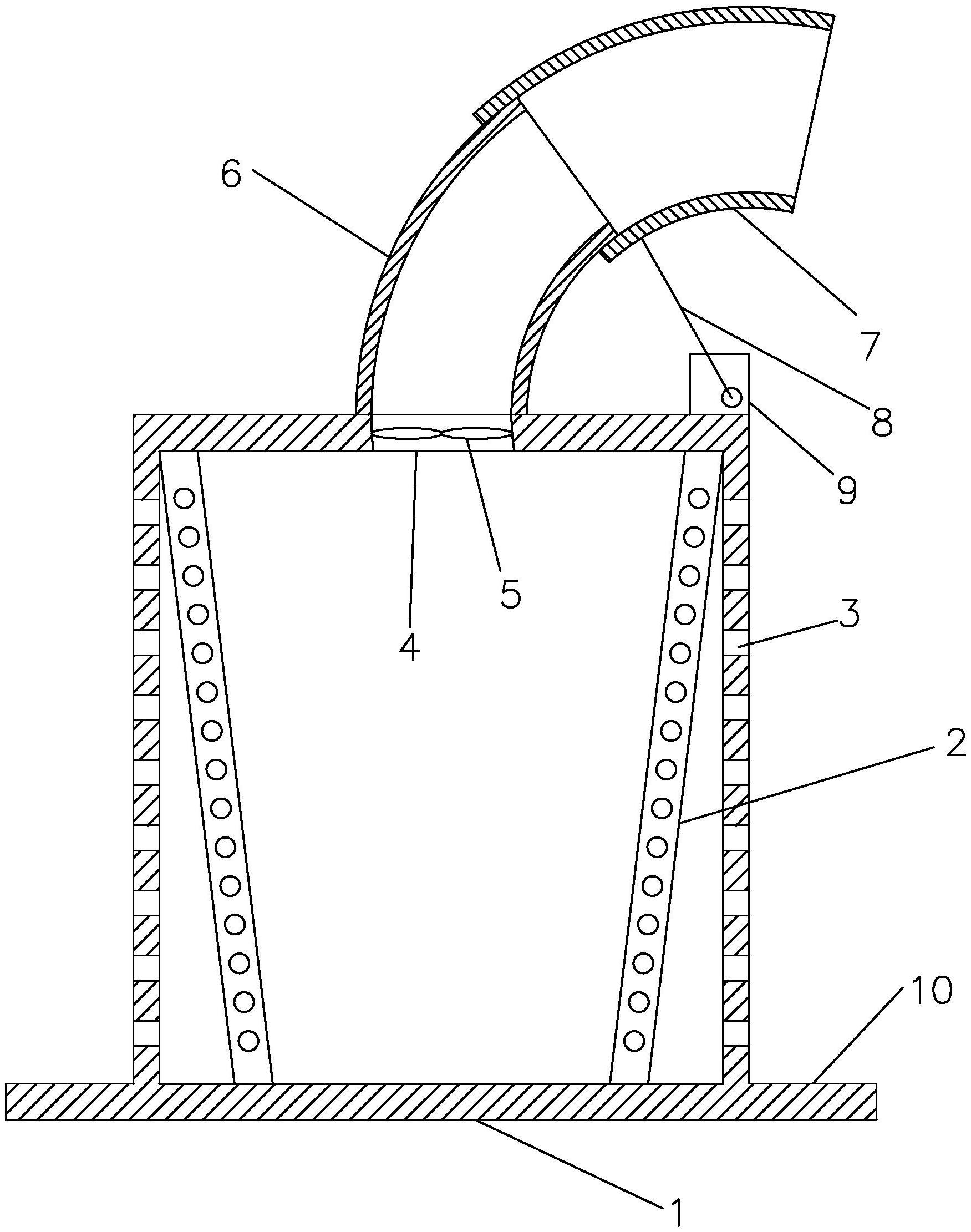
本实用新型公开了一种防水型二氧化碳热泵,涉及二氧化碳热泵技术领域;包括壳体、位于壳体内的换热器、位于壳体侧面的进风口、位于壳体上侧的出风口、位于出风口内的排风扇、位于出风口上的防水机构;所述防水机构包括下端固接在壳体上的第一出风管、下端套设在第一出风管上端的第二出风管、用于驱动第二出风管沿着第一出风管的走向滑动的驱动机构;所述第一出风管呈圆弧形,所述第二出风管呈圆弧形,所述第一出风管的圆心和第二出风管的圆心重合。运行的时候,第二出风管朝向第一出风管方向运动,便于出风,停机的时候,第二出风管朝向远离第一出风管的一侧运动,起到防雨的作用。


