授权公布号:CN219429958U
制曲机料盒及圆盘制曲机
有效
申请
2023-04-10
申请公布
1970-01-01
授权
2023-07-28
预估到期
2033-04-10
| 申请号 | CN202320775600.X |
| 申请日 | 2023-04-10 |
| 授权公布号 | CN219429958U |
| 授权公告日 | 2023-07-28 |
| 分类号 | C12G3/02 |
| 分类 | 生物化学;啤酒;烈性酒;果汁酒;醋;微生物学;酶学;突变或遗传工程; |
| 申请人名称 | 河北苹乐面粉机械集团有限公司 |
| 申请人地址 | 河北省石家庄市正定县西平乐乡东安丰村南 |
专利法律状态
2023-07-28
授权
状态信息
授权
摘要
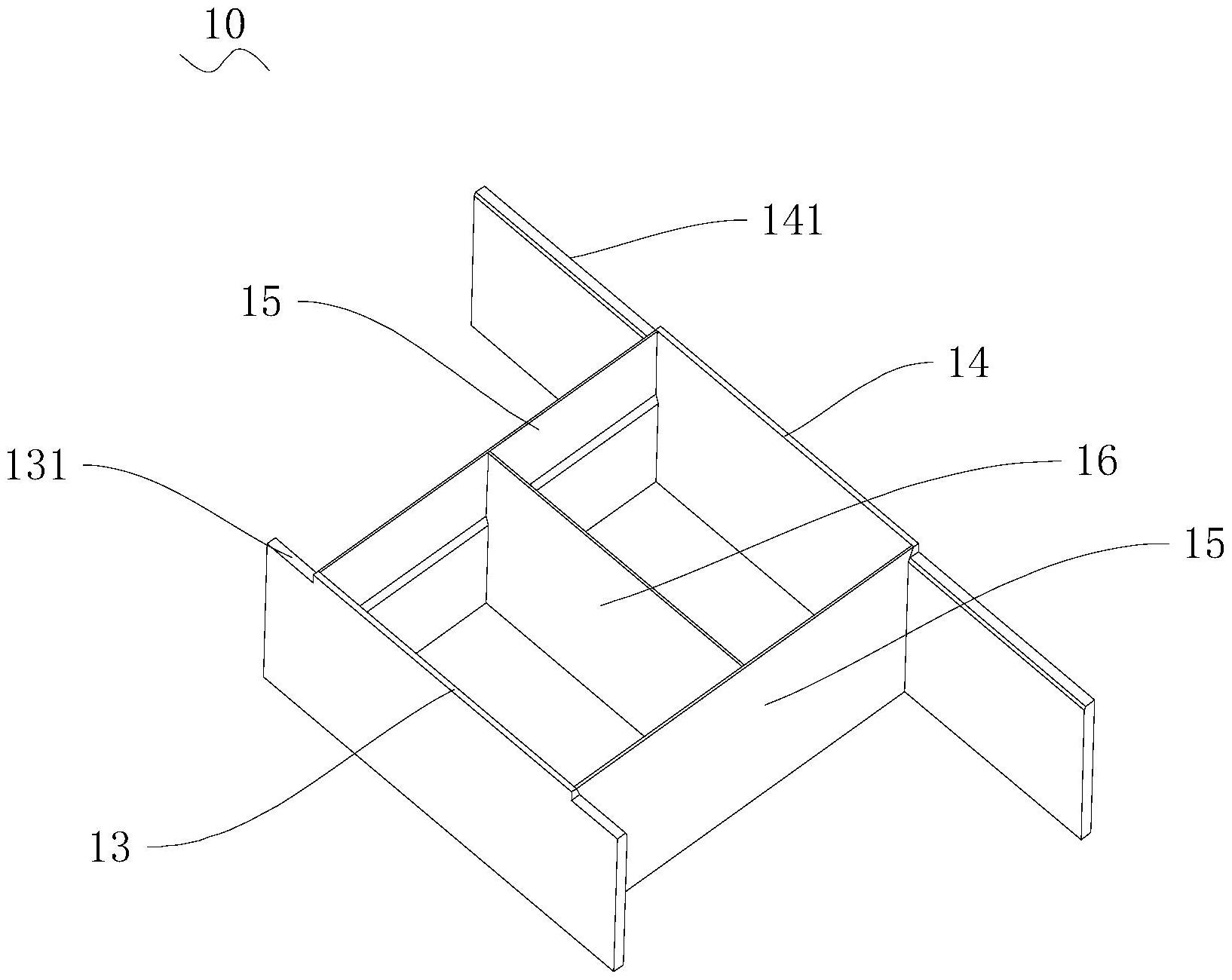
本实用新型提供了一种制曲机料盒及圆盘制曲机,制曲机料盒包括自下至上设置的第一槽体和第二槽体,第一槽体的至少一侧壁与对应的第二槽体的侧壁成阶梯分布,以使第一槽体和第二槽体共同形成孔径上大下小的阶梯式容料空间。第一槽体的尺寸与压曲锤的尺寸相适配,第二槽体的尺寸大于压曲锤的尺寸,在压曲时,曲料填充在第一槽体和第二槽体内,压曲锤处于第二槽体内,压曲锤的侧壁与第二槽体的侧壁之间具有间隙,在压曲锤下压后不会与制曲机料盒形成封闭空间,因而在压曲锤提起时,不会产生负压而将压好的曲块带起,能够保证较好的曲块成型效果。


