授权公布号:CN110918414B
一种静电植绒设备及植绒方法
有效
申请
2019-11-25
申请公布
2020-03-27
授权
2023-07-07
预估到期
2039-11-25
| 申请号 | CN201911163884.1 |
| 申请日 | 2019-11-25 |
| 申请公布号 | CN110918414A |
| 申请公布日 | 2020-03-27 |
| 授权公布号 | CN110918414B |
| 授权公告日 | 2023-07-07 |
| 分类号 | B05C19/00;B05C19/06 |
| 分类 | 一般喷射或雾化;对表面涂覆液体或其他流体的一般方法〔2〕; |
| 申请人名称 | 浙江东亚手套有限公司 |
| 申请人地址 | 浙江省台州市海丰路2488号 |
专利法律状态
2023-07-07
授权
状态信息
授权
2020-04-21
实质审查的生效
状态信息
实质审查的生效;IPC(主分类):B05C19/00;申请日:20191125
2020-03-27
公布
状态信息
公布
摘要
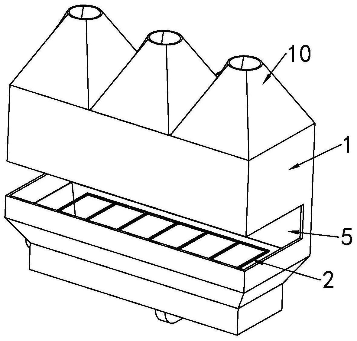
本发明公开了一种静电植绒设备,包括带植绒腔的植绒箱体,植绒腔内设置有电网,植绒箱体外设置有摆动电机,植绒箱体外设置有向植绒腔内吹送绒毛的第一吹气开关,所述的植绒箱体中部设置有与植绒腔相通的开槽,开槽供人工或输送线将模具从植绒腔中穿过;在所述的植绒箱体底部外侧设置有自植绒箱体底端向上鼓风的鼓风机;并在植绒箱体内的植绒腔底部设置有网布;本发明通过鼓风机向植绒腔内鼓风,使得绒毛悬浮在网布上方;在电网通电后,将带有待植绒物的模具经开槽从植绒腔中穿过,使绒毛附着在已经涂胶的待植绒物上;并通过绒毛回收罩对未被利用的进行回收。


