授权公布号:CN210332404U
一种具有除甲醛功能的涂料加工用高效混合装置
有效
申请
2019-06-26
申请公布
1970-01-01
授权
2020-04-17
预估到期
2029-06-26
| 申请号 | CN201920973487.X |
| 申请日 | 2019-06-26 |
| 授权公布号 | CN210332404U |
| 授权公告日 | 2020-04-17 |
| 分类号 | B01F7/18;B01D53/86;B01D53/72;B01D46/10 |
| 分类 | 一般的物理或化学的方法或装置; |
| 申请人名称 | 福建中美尚品环保科技有限公司 |
| 申请人地址 | 福建省福州市仓山区建新镇红江路73号金山工业区浦上片平潭园3号楼(北半部分)5层501室 |
专利法律状态
2020-04-17
授权
状态信息
授权
摘要
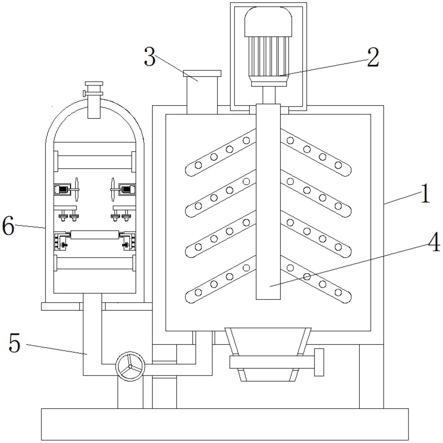
本实用新型公开了一种具有除甲醛功能的涂料加工用高效混合装置,涉及涂料加工设备技术领域。包括混合箱,混合箱的顶部固定连接有进料口,进料口的右侧面位于混合箱的顶部固定连接有电机,电机的输出轴固定连接有贯穿并延伸至混合箱内部的搅拌杆,混合箱的左侧面固定连接有处理罐,混合箱的底部固定连接有抽气管,抽气管的远离混合箱的一端贯穿并延伸至处理罐内腔的底部,处理罐的内部固定连接有HEPA过滤网。通过设置支撑块、L型放置槽和卡杆,在螺栓、限位块和活动块的配合使用下,便于对光触媒过滤网进行安装和拆卸,从而便于随光触媒过滤网进行更换,方便工作人员操作,提高了该具有除甲醛功能的涂料加工用高效混合装置的处理效率。


