授权公布号:CN111185879B
一种汽车零部件拆装工具、拆卸及装配方法
有效
申请
2020-01-21
申请公布
2020-05-22
授权
2021-09-24
预估到期
2040-01-21
| 申请号 | CN202010070572.2 |
| 申请日 | 2020-01-21 |
| 申请公布号 | CN111185879A |
| 申请公布日 | 2020-05-22 |
| 授权公布号 | CN111185879B |
| 授权公告日 | 2021-09-24 |
| 分类号 | B25B27/30 |
| 分类 | 手动工具;轻便机动工具;手动器械的手柄;车间设备;机械手; |
| 申请人名称 | 蒂森克虏伯普利斯坦汽车零部件(上海)有限公司 |
| 申请人地址 | 上海市浦东新区康桥镇苗桥路268号 |
专利法律状态
2021-09-24
授权
状态信息
授权
2020-06-16
实质审查的生效
状态信息
实质审查的生效 IPC(主分类):B25B27/30
2020-05-22
公布
状态信息
公布
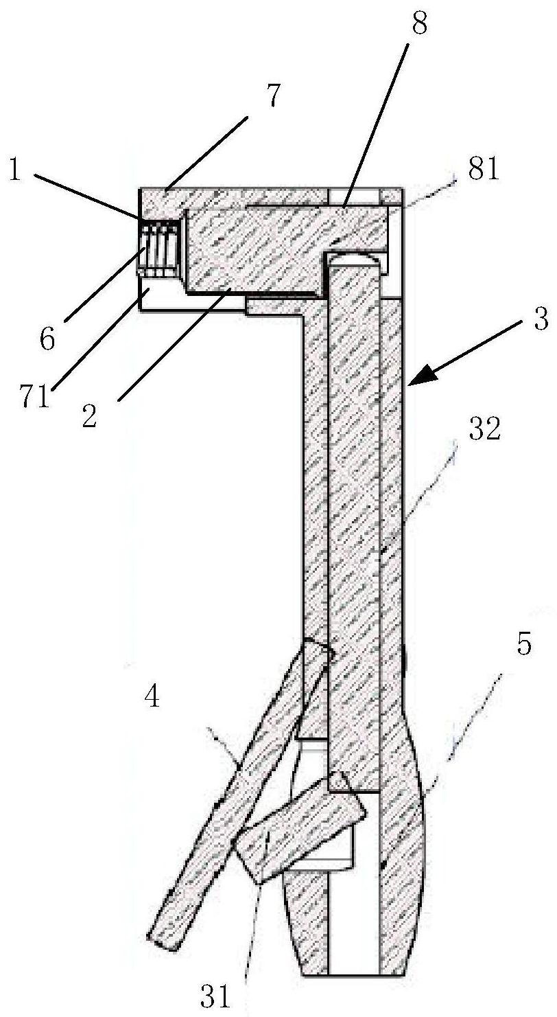
摘要
本发明公开一种汽车零部件拆装工具、拆卸及装配方法,汽车零部件拆装工具,包括:第一钳口(1)、第二钳口(2)、驱动杆(3)、触件(4)、以及手柄(5),所述触件(4)的枢接端(42)与所述手柄(5)枢接,所述触件(4)远离所述枢接端(42)的按压端(41)与所述驱动杆(3)接触;所述按压端(41)靠近或远离所述手柄(5)时,所述驱动杆(3)驱动所述第一钳口(1)和所述第二钳口(2)对向运动或背向运动。本发明通过设计新的汽车零部件拆装工具,通过第一钳口和所述第二钳口的对向运动或背向运动来调整零部件两端的角度大小,从而方便地拆卸或装配。


