授权公布号:CN214875105U
转向中间轴
有效
申请
2021-04-30
申请公布
1970-01-01
授权
2021-11-26
预估到期
2031-04-30
| 申请号 | CN202120943172.8 |
| 申请日 | 2021-04-30 |
| 授权公布号 | CN214875105U |
| 授权公告日 | 2021-11-26 |
| 分类号 | B62D1/20 |
| 分类 | 无轨陆用车辆; |
| 申请人名称 | 蒂森克虏伯普利斯坦汽车零部件(上海)有限公司 |
| 申请人地址 | 上海市浦东新区康桥镇苗桥路268号 |
专利法律状态
2021-11-26
授权
状态信息
授权
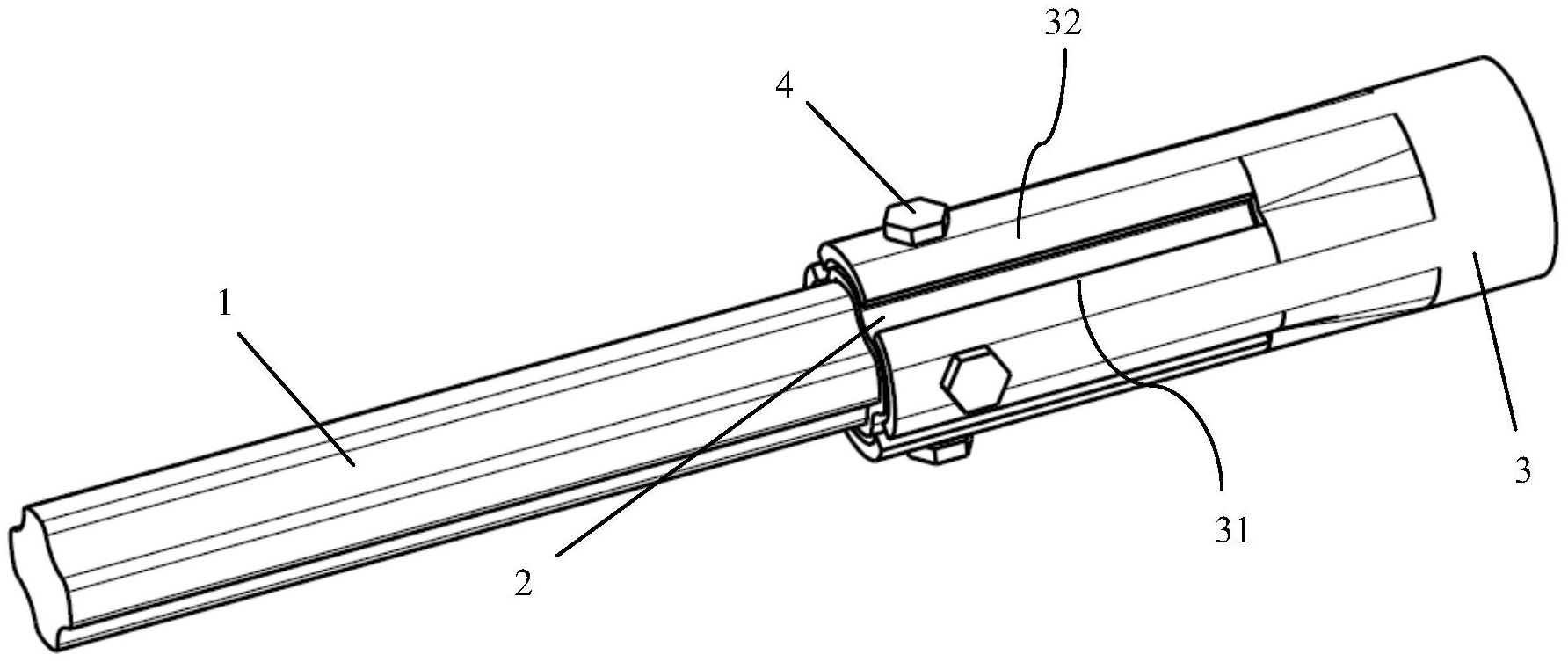
摘要
本实用新型公开了一种转向中间轴,包括主轴、橡胶套和外管,所述外管套设在所述主轴的一端的外部,所述橡胶套位于所述主轴与所述外管之间,还包括多个螺栓,所述外管上间隔开设有多条狭缝,相邻所述狭缝之间形成弹性部,所述弹性部上开设有螺栓孔,所述螺栓从外向内依次穿入所述螺栓孔、所述橡胶套和所述主轴;所述螺栓拧紧后,所述弹性部变形后其内表面与所述橡胶套接触,所述狭缝的宽度变窄。本实用新型中螺栓拧紧后,弹性部变形后其内表面与橡胶套接触,狭缝的宽度变窄,从而消除橡胶套与外管的内表面之间的间隙,能够保证转向中间轴的扭转刚度;并且通过调节螺栓的拧紧扭矩和橡胶的硬度,还能够调节转向中间轴的扭转刚度。


