授权公布号:CN107931462B
一种减振器的封口装置及其封口方法
有效
申请
2017-12-27
申请公布
2018-04-20
授权
2023-06-27
预估到期
2037-12-27
| 申请号 | CN201711445584.3 |
| 申请日 | 2017-12-27 |
| 申请公布号 | CN107931462A |
| 申请公布日 | 2018-04-20 |
| 授权公布号 | CN107931462B |
| 授权公告日 | 2023-06-27 |
| 分类号 | B21D41/04;B21D43/00 |
| 分类 | 基本上无切削的金属机械加工;金属冲压; |
| 申请人名称 | 南阳淅减汽车减振器有限公司 |
| 申请人地址 | 河南省南阳市淅川县西坪头工业园区 |
专利法律状态
2023-06-27
授权
状态信息
授权
2018-05-15
实质审查的生效
状态信息
实质审查的生效;IPC(主分类):B21D41/04;申请日:20171227
2018-04-20
公布
状态信息
公布
摘要
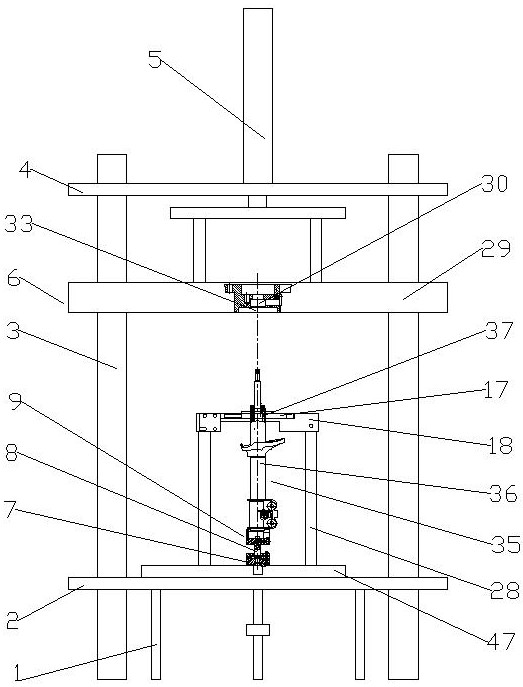
本发明公开了一种减振器的封口装置及其封口方法,所述封口装置包括基座、设置于所述基座上的减振器总成固定组件、设置于所述基座上且位于所述固定组件两侧的导柱、套装于所述导柱上的封口组件和控制封口组件移动的升降组件,所述固定组件包括弹性缓冲底座和位于所述底座与封口组件之间的封口定位件,所述封口定位件包括从前到后依次设置的对开套、定位环和半圆形定位板,所述定位环包括半圆形的固定环和活动环,所述固定环和活动环内壁均设置有半圆形的环状凸起。本发明能够有效的缓冲减振器总成底部受到的冲击并增加封口的安全性,降低减振器漏油的风险。


