授权公布号:CN218000253U
一种方便组装的减振器
有效
申请
2021-05-18
申请公布
1970-01-01
授权
2022-12-09
预估到期
2031-05-18
| 申请号 | CN202121062217.7 |
| 申请日 | 2021-05-18 |
| 授权公布号 | CN218000253U |
| 授权公告日 | 2022-12-09 |
| 分类号 | F16F9/32;F16F9/34;F16F9/36 |
| 分类 | 工程元件或部件;为产生和保持机器或设备的有效运行的一般措施;一般绝热; |
| 申请人名称 | 南阳淅减汽车减振器有限公司 |
| 申请人地址 | 河南省南阳市淅川县西坪头工业园区 |
专利法律状态
2022-12-09
授权
状态信息
授权
摘要
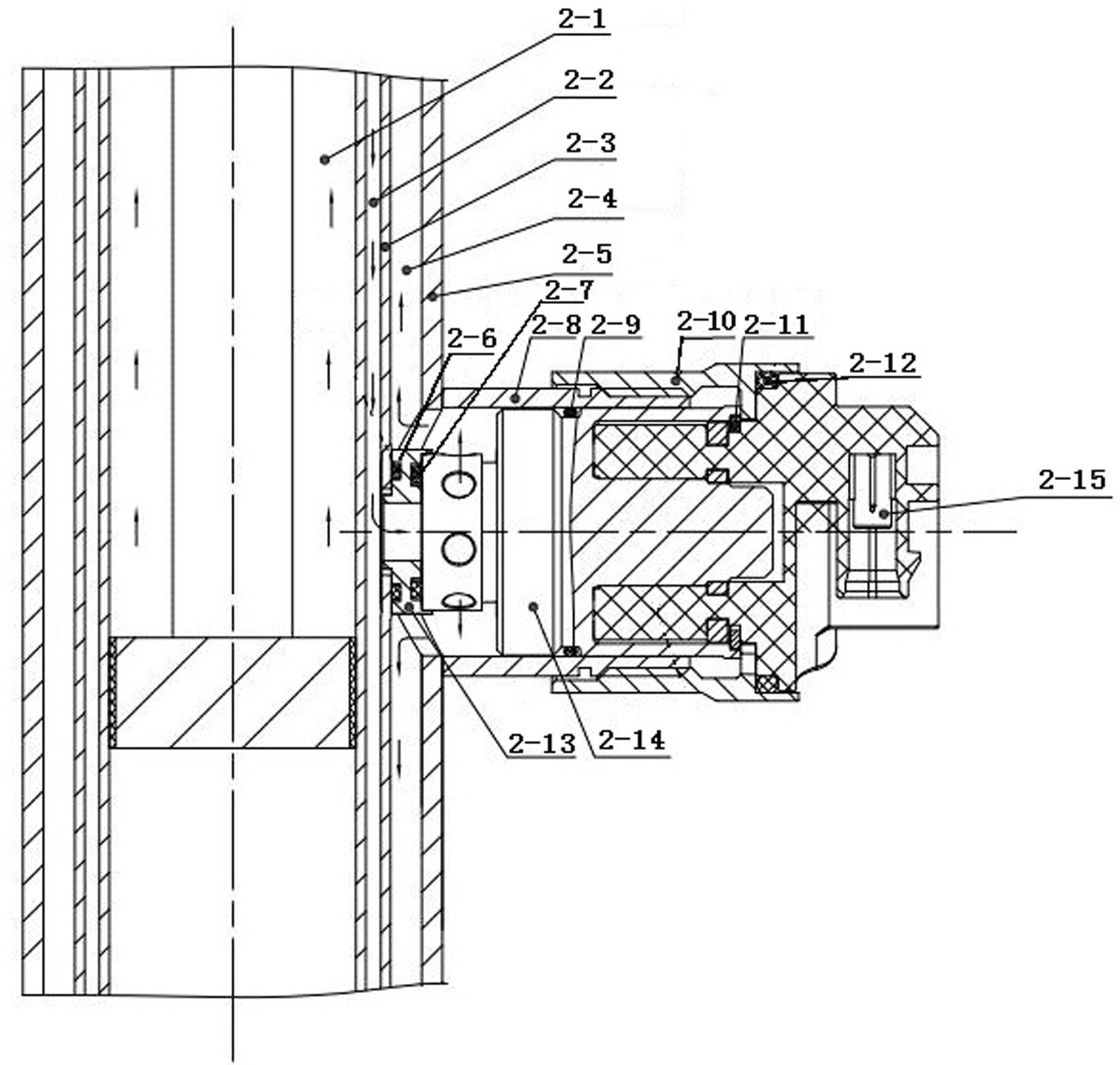
本实用新型属于减振器装置技术领域,具体涉及一种方便组装的减振器,该减振器包括减振器总成及电磁阀总成,减振器总成包括由内而外依次套设的工作缸、中间缸及贮油缸,贮油缸侧壁设置有电磁阀连接口,中间缸侧壁设置有与电磁阀连接口同轴的出油口;电磁阀总成包括连接于电磁阀连接口外的电磁阀座、套设于电磁阀座内的电磁阀、设置于电磁阀和贮油缸之间的流通阀芯以及连接于电磁阀的螺线管;流通阀芯远离电磁阀的端部抵接于出油口外中间缸侧壁,流通阀芯和中间缸侧壁之间设置有第一密封圈;流通阀芯远离电磁阀的端部设置有用于套入出油口的导向部。本实用新型用于解决目前的减振器容易出现组装误差导致的油液流通不畅及组装过程复杂的技术问题。


