授权公布号:CN214305030U
一种减振器示功测试设备
有效
申请
2021-01-26
申请公布
1970-01-01
授权
2021-09-28
预估到期
2031-01-26
| 申请号 | CN202120216287.7 |
| 申请日 | 2021-01-26 |
| 授权公布号 | CN214305030U |
| 授权公告日 | 2021-09-28 |
| 分类号 | F16F15/023;G01L3/24N |
| 分类 | 工程元件或部件;为产生和保持机器或设备的有效运行的一般措施;一般绝热; |
| 申请人名称 | 南阳淅减汽车减振器有限公司 |
| 申请人地址 | 河南省南阳市淅川县西坪头工业园区 |
专利法律状态
2021-09-28
授权
状态信息
授权
摘要
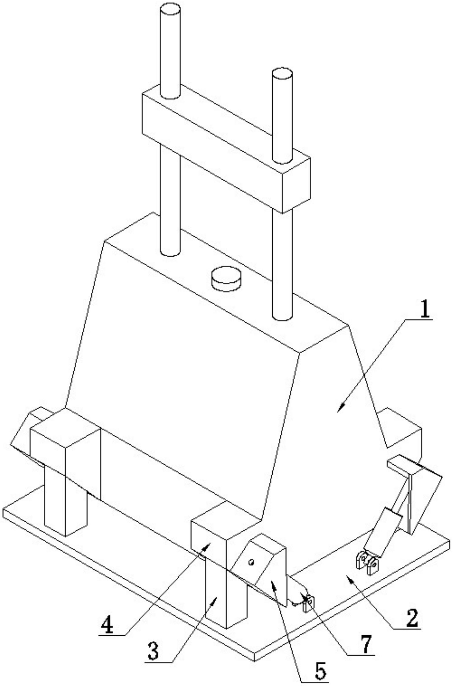
本实用新型涉及一种减振器示功测试设备,包括设备主体,所述设备主体下部设置有底座,所述底座呈矩形平板状,底座四角处均竖直设置有定位柱,设备主体下部四角处均固定设置有定位壳和缓冲壳,所述定位壳呈下端开口的壳体状且与定位柱对应设置,所述定位柱上部纵向滑动套合于定位壳内,定位壳上端与定位柱上端之间设置有气囊,所述缓冲壳内设置有液压缸,所述液压缸的伸缩端与缓冲壳上端铰接,液压缸的固定端向内倾斜且与底座铰接。本实用新型的目的在于解决或至少减轻测试时测试设备会发生振动的问题,提供一种减振器示功测试设备。


