授权公布号:CN218913569U
一种油气分离式减振器充气装配装置
有效
申请
2022-09-15
申请公布
1970-01-01
授权
2023-04-25
预估到期
2032-09-15
| 申请号 | CN202222460322.7 |
| 申请日 | 2022-09-15 |
| 授权公布号 | CN218913569U |
| 授权公告日 | 2023-04-25 |
| 分类号 | F16F9/43;F16F9/32 |
| 分类 | 工程元件或部件;为产生和保持机器或设备的有效运行的一般措施;一般绝热; |
| 申请人名称 | 浙江正裕工业股份有限公司 |
| 申请人地址 | 浙江省台州市玉环市沙门滨港工业城长顺路55号 |
专利法律状态
2023-07-18
专利权质押合同登记的生效、变更及注销
状态信息
专利权质押合同登记的生效;IPC(主分类):F16F9/43;专利号:ZL2022224603227;登记号:Y2023330001324;登记生效日:20230702;出质人:浙江正裕工业股份有限公司;质权人:中国银行股份有限公司玉环支行;实用新型名称:一种油气分离式减振器充气装配装置;申请日:20220915;授权公告日:20230425
2023-04-25
授权
状态信息
授权
摘要
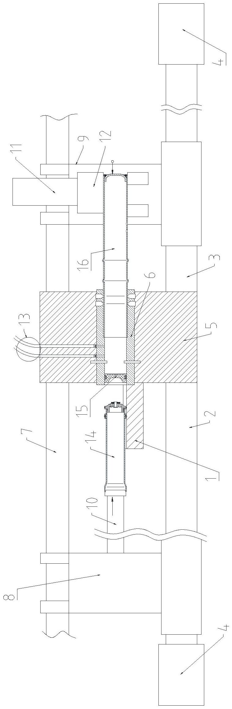
本实用新型公开了一种油气分离式减振器充气装配装置,涉及减振器装配工装技术领域,包括底座,所述底座的两侧转动连接有第一丝杆和第二丝杆,所述第一丝杆配合连接有第一移动座,所述第二丝杆配合连接有第二移动座,所述第一移动座上设有推进杆,所述底座内设有工装体,所述第二移动座上设有夹具工装,所述推进杆、所述工装体和所述夹具工装对齐设置,所述工装体内设有与减振器密封配合的内腔,所述内腔口设有导槽,所述工装体上设有连通所述内腔的充气嘴和抽气嘴,所述内腔上活动连接有活塞限位销和扣铆刀具。本实用新型工序简洁、装配效率高。


