授权公布号:CN205977789U
一种泳池泵叶轮
有效
申请
2016-08-09
申请公布
1970-01-01
授权
2017-02-22
预估到期
2026-08-09
| 申请号 | CN201620858380.7 |
| 申请日 | 2016-08-09 |
| 授权公布号 | CN205977789U |
| 授权公告日 | 2017-02-22 |
| 分类号 | F04D29/18;F04D29/70 |
| 分类 | 液体变容式机械;液体泵或弹性流体泵; |
| 申请人名称 | 广东凌霄泵业股份有限公司 |
| 申请人地址 | 广东省阳江市阳春市春城镇春江大道117号 |
专利法律状态
2017-02-22
授权
状态信息
授权
摘要
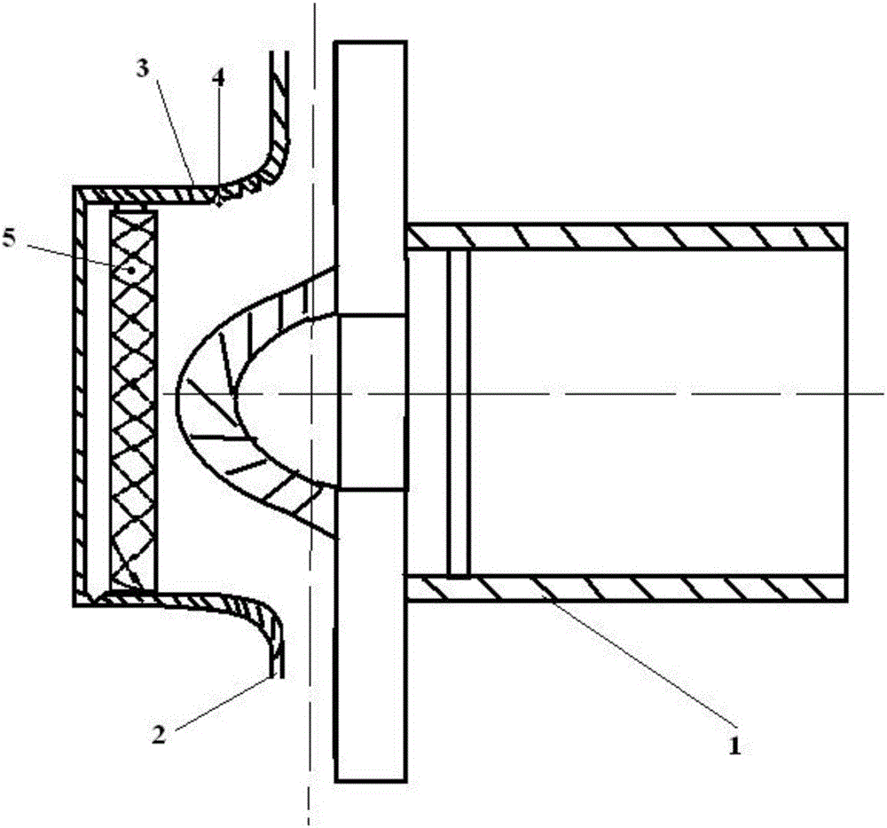
本实用新型涉及一种泳池泵叶轮,叶轮防护盖(2)具有入口圆筒(3),在入口圆筒(3)上设置圆形盘底(501),在圆形盘底上设置通孔(506),其上盖有不锈钢丝网(507),所述圆形盘底(501)的圆心均匀分布有若干个;所述旋流储砂槽(502)的孔径为所述通孔(506)孔径的1/4‑1/8;围绕所述圆形盘底(501)的圆心均匀分布有若干个圆柱形突起(503)。本实用新型的锯齿状的凹槽、旋流储砂槽(502)、圆柱形突起(503)均可减少固体颗粒进入泵体内部,且减少了与入口圆筒(3)之间的磨损,保证了水泵的性能,提高了水泵的使用寿命。


