授权公布号:CN204161343U
小挂车用惯性制动装置
有效
申请
2014-07-14
申请公布
1970-01-01
授权
2015-02-18
预估到期
2024-07-14
| 申请号 | CN201420388755.9 |
| 申请日 | 2014-07-14 |
| 授权公布号 | CN204161343U |
| 授权公告日 | 2015-02-18 |
| 分类号 | B60T13/08 |
| 分类 | 一般车辆; |
| 申请人名称 | 烟台爱科机械设备有限公司 |
| 申请人地址 | 山东省烟台市菜山经济开发区广场北路1号 |
专利法律状态
2015-02-18
授权
状态信息
授权
摘要
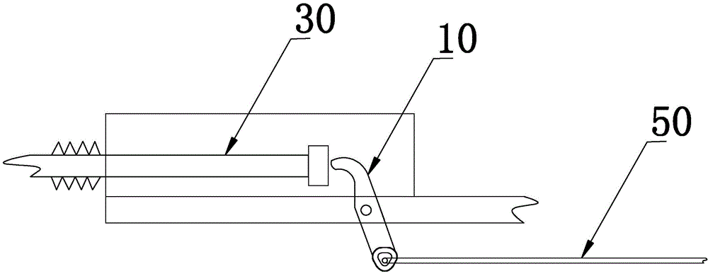
小挂车用惯性制动装置,包括惯性顶杆,及能够传递惯性冲击力的传动比杠杆;其特征在于:传动比杠杆主要由传动比套和杆体构成;传动比套上设有定位孔;杆体的一端与惯性顶杆的一端接触,杆体的另一端设有能够卡合传动比套的孔槽;旋转传动比套,其定位孔能够对应不同的传动比。主要应用在小挂车上,不但提高了传动比杠杆的通用性,而且还可以实现统一的流水化生产,降低了传动比杠杆的制造成本。


