授权公布号:CN204161338U
小挂车用三维拉锁机构
有效
申请
2014-07-14
申请公布
1970-01-01
授权
2015-02-18
预估到期
2024-07-14
| 申请号 | CN201420388780.7 |
| 申请日 | 2014-07-14 |
| 授权公布号 | CN204161338U |
| 授权公告日 | 2015-02-18 |
| 分类号 | B60T11/04 |
| 分类 | 一般车辆; |
| 申请人名称 | 烟台爱科机械设备有限公司 |
| 申请人地址 | 山东省烟台市菜山经济开发区广场北路1号 |
专利法律状态
2015-02-18
授权
状态信息
授权
摘要
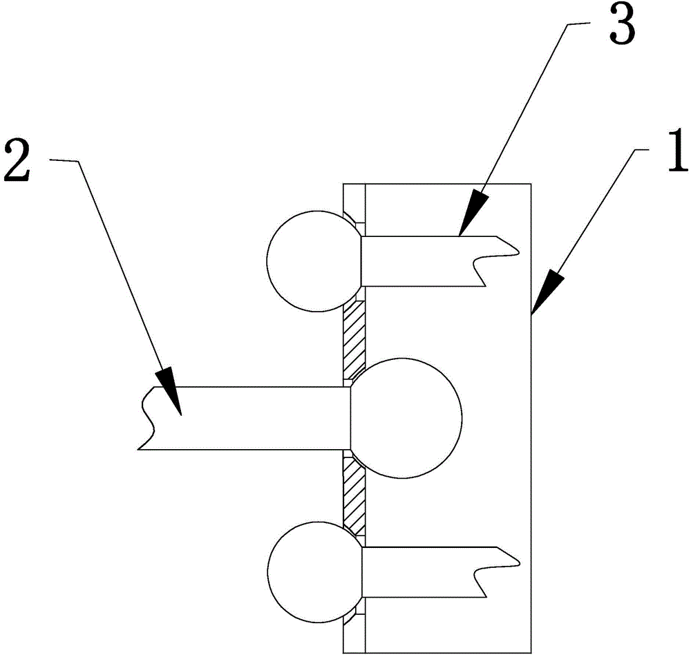
小挂车用三维拉锁机构,包括支索架、设置在支索架中部的制动拉杆,其特征在于:制动拉杆与支索架的接触面为球形面。进一步的,在支索架的两端上对应设置有制动拉索,制动拉索与支索架的接触面为球形面。主要应用在小挂车上,本实用新型能够使其各部件在接触面处实现三维找正,最终使其小挂车两侧轮的制动力相同,消除了因其两侧轮的制动力不同而埋下的安全隐患。


