授权公布号:CN210686167U
一种具有冷却结构的新型喷油器
有效
申请
2019-08-02
申请公布
1970-01-01
授权
2020-06-05
预估到期
2029-08-02
| 申请号 | CN201921245618.9 |
| 申请日 | 2019-08-02 |
| 授权公布号 | CN210686167U |
| 授权公告日 | 2020-06-05 |
| 分类号 | F02M53/04 |
| 分类 | 燃烧发动机;热气或燃烧生成物的发动机装置; |
| 申请人名称 | 马瑞利(中国)有限公司 |
| 申请人地址 | 上海市浦东新区中国(上海)自由贸易试验区俱进路685号3楼 |
专利法律状态
2020-06-05
授权
状态信息
授权
摘要
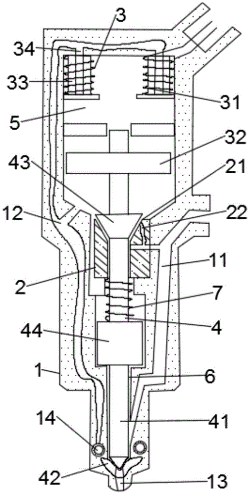
本实用新型实施例公开了一种具有冷却结构的新型喷油器,包括喷油器的本体,本体内部顶端和底端分别设一控制室和一针阀室,本体的底端中心设一出油口,控制室与针阀室之间通过隔块隔开;本体的侧壁上设一主油道,从本体中部一侧延伸至出油口上方,主油道通过释放孔连接一分油道,释放孔设在隔块内部,分油道从本体的顶端延伸到本体的底端,通过喷油器头部冷却流道的设计,可以使得低温油喷油器头部的热量带走,从而起到冷却喷油器头部的作用,降低了喷油器头部积碳和结焦,从而保证了喷油质量和发动机性能,提高了喷油器头部和阀座的使用寿命,可对线圈进行散热,提高了线圈使用寿命。


