授权公布号:CN210686165U
一种新型高压喷油器
有效
申请
2019-08-05
申请公布
1970-01-01
授权
2020-06-05
预估到期
2029-08-05
| 申请号 | CN201921255236.4 |
| 申请日 | 2019-08-05 |
| 授权公布号 | CN210686165U |
| 授权公告日 | 2020-06-05 |
| 分类号 | F02M51/06 |
| 分类 | 燃烧发动机;热气或燃烧生成物的发动机装置; |
| 申请人名称 | 马瑞利(中国)有限公司 |
| 申请人地址 | 上海市浦东新区中国(上海)自由贸易试验区俱进路685号3楼 |
专利法律状态
2020-06-05
授权
状态信息
授权
摘要
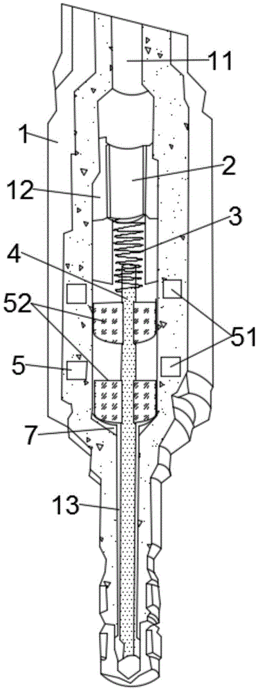
本实用新型实施例公开了一种新型高压喷油器,包括一喷油器体,喷油器体的内部从上到下依次设有相互连通的进油孔、驱动安装槽和喷油孔;驱动安装槽的顶部固定一弹簧支撑块,弹簧支撑块的底端连接一弹簧,弹簧的内部插设一针阀杆,针阀杆的侧部连接两组电磁驱动机构;电磁驱动机构包括电磁线圈和固定在针阀杆外侧的衔铁,其中一衔铁顶端与弹簧连接,采用两组电磁驱动机构,两个电磁线圈吸引两个衔铁从而使针阀的开启力更加大,针阀开启和关闭更加迅速,可以满足在极限工作工况下的喷油器迅速开启和多次喷射的要求,提高了喷油效率,也减小了喷油量误差,提高了电磁驱动的容错性。


