授权公布号:CN215151575U
一种玩具积木注塑成型机
有效
申请
2021-06-17
申请公布
1970-01-01
授权
2021-12-14
预估到期
2031-06-17
| 申请号 | CN202121350797.X |
| 申请日 | 2021-06-17 |
| 授权公布号 | CN215151575U |
| 授权公告日 | 2021-12-14 |
| 分类号 | B29C45/73;B29C45/42 |
| 分类 | 塑料的加工;一般处于塑性状态物质的加工; |
| 申请人名称 | 广东启梦玩具实业有限公司 |
| 申请人地址 | 广东省汕头市澄海区莱美工业区兴业西二路西侧与兴业南路北侧交汇处 |
专利法律状态
2021-12-14
授权
状态信息
授权
摘要
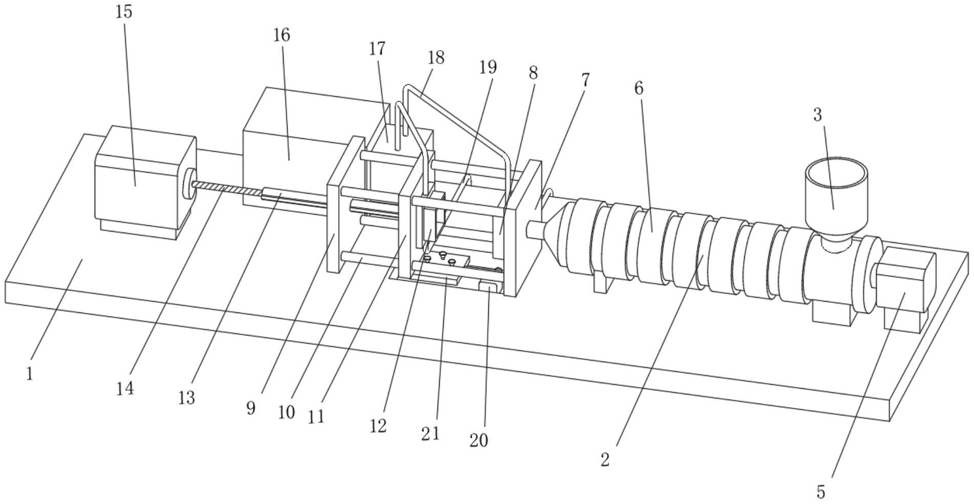
本实用新型公开了一种玩具积木注塑成型机,涉及玩具生产技术领域,具体为一种玩具积木注塑成型机,包括底板,所述底板的顶部固定安装有注塑机,所述注塑机的左侧固定连接有固定模板一,所述固定模板一的左侧固定安装有固定模具,所述底板的顶部固定连接有位于固定模板一左侧的固定模板二,所述固定模板二与固定模板一之间固定连接有滑动杆。该玩具积木注塑成型机,通过在固定模具和活动模具的顶部连接进水管,利用水泵将储水箱内部的清水输送到进水管中,然后经过进水管输送到固定模具和活动模具的内部进行冷却,加快了玩具积木冷却成型,提高了玩具积木的生产效率。


