授权公布号:CN216076240U
一种扣件式脚手架扣件的维修工装
有效
申请
2021-08-25
申请公布
1970-01-01
授权
2022-03-18
预估到期
2031-08-25
| 申请号 | CN202122013147.2 |
| 申请日 | 2021-08-25 |
| 授权公布号 | CN216076240U |
| 授权公告日 | 2022-03-18 |
| 分类号 | E04G5/00 |
| 分类 | 建筑物; |
| 申请人名称 | 江苏南通三建集团股份有限公司 |
| 申请人地址 | 江苏省南通市海门经济技术开发区香港路588号 |
专利法律状态
2022-03-18
授权
状态信息
授权
摘要
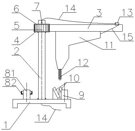
本实用新型公开了一种扣件式脚手架扣件的维修工装,包括底坐(1),底座(1)上设置立柱(2),立柱(2)顶部设置下托板(4),下托板(4)上设置含轴承的转轴套(5),转轴套(5)上端面设置钢制压板(6),钢制压板(6)上方设置固定孔(7);转轴套(5)侧面固定设置手柄(3),手柄(3)分别设置操作按钮(13)和手电钻(11)。本实用新型便于扣件组件拆卸,解决了维修扣件组件的拆卸工作(包括待拆扣件的固定、磨耗扣件连接销端扩大头等,以及组件锈死不能拆的问题),为组件的重复利用提供了基础,同时减少材料消耗,降低成本。


