授权公布号:CN213682490U
一种分段钢柱现场快速对接安装结构
有效
申请
2020-10-24
申请公布
1970-01-01
授权
2021-07-13
预估到期
2030-10-24
| 申请号 | CN202022396684.5 |
| 申请日 | 2020-10-24 |
| 授权公布号 | CN213682490U |
| 授权公告日 | 2021-07-13 |
| 分类号 | E04B1/24;E04B1/58;E04C3/32 |
| 分类 | 建筑物; |
| 申请人名称 | 江苏南通三建集团股份有限公司 |
| 申请人地址 | 江苏省南通市海门市狮山路131号 |
专利法律状态
2021-07-13
授权
状态信息
授权
摘要
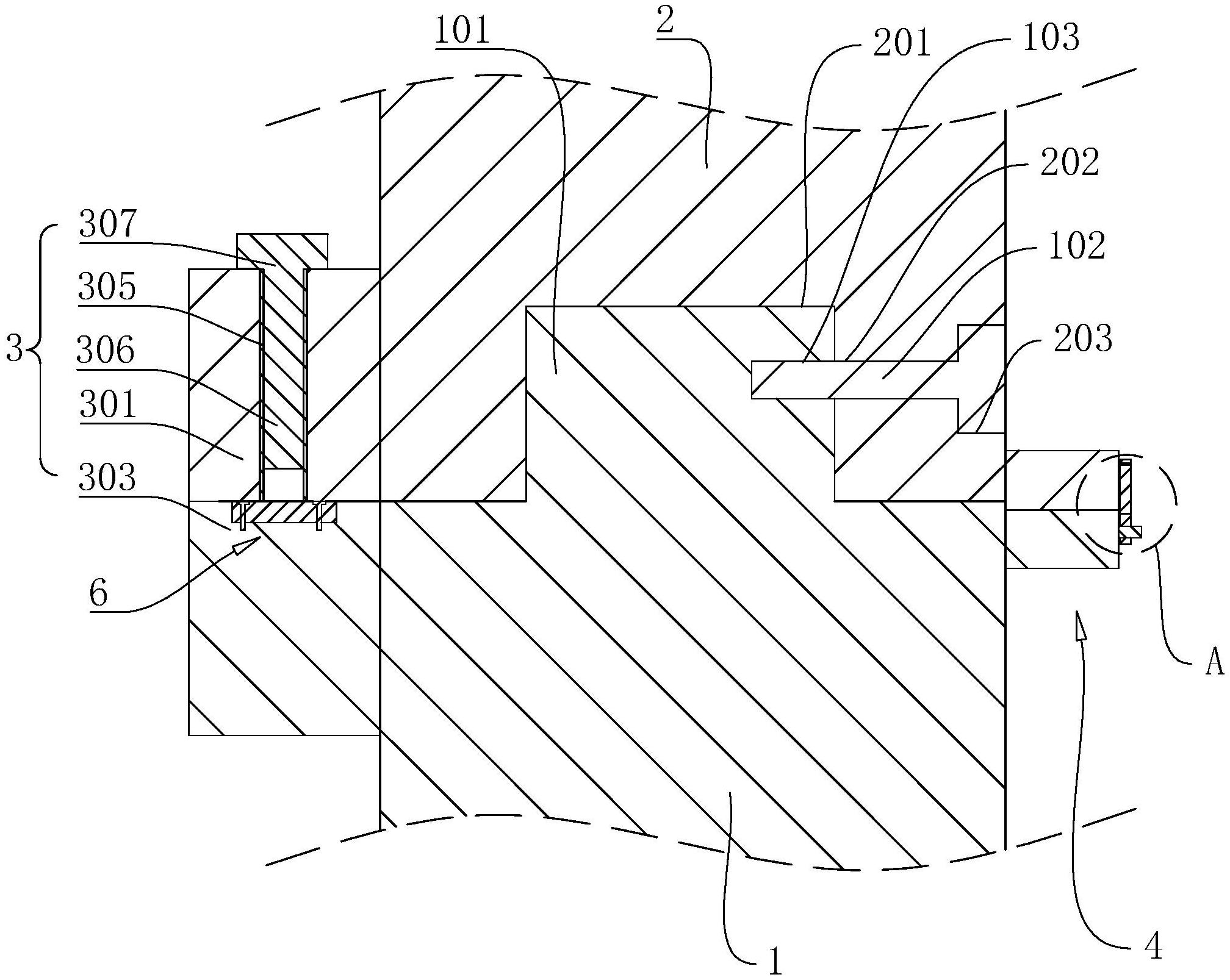
本申请涉及一种分段钢柱现场快速对接安装结构,其包括第一钢柱和第二钢柱,所述第一钢柱和第二钢柱之间共同设置有连接组件,所述连接组件包括顶接块、底撑块、延伸筒、锁止杆和定位块;所述顶接块位于第二钢柱外侧壁,所述底撑块位于第一钢柱外侧壁,所述延伸筒位于底撑块朝向顶接块的侧壁,所述定位块位于锁止杆长度方向的一端;所述顶接块顶壁贯穿设置有便于延伸筒抵入的延伸槽,所述锁止杆可在延伸筒内螺纹配合。本申请具有提高相邻分段钢柱的连接强度的效果。


