授权公布号:CN210612601U
一种可调节风门带控温的火罐装置
有效
申请
2019-06-26
申请公布
1970-01-01
授权
2020-05-26
预估到期
2029-06-26
| 申请号 | CN201920970109.6 |
| 申请日 | 2019-06-26 |
| 授权公布号 | CN210612601U |
| 授权公告日 | 2020-05-26 |
| 分类号 | A61M1/08;A61H9/00;A61H39/04;A61H39/06;A61M37/00 |
| 分类 | 医学或兽医学;卫生学; |
| 申请人名称 | 徐州无忧妈妈母婴健康管理有限公司 |
| 申请人地址 | 江苏省徐州市泉山区泉山科技楼326室 |
专利法律状态
2020-05-26
授权
状态信息
授权
摘要
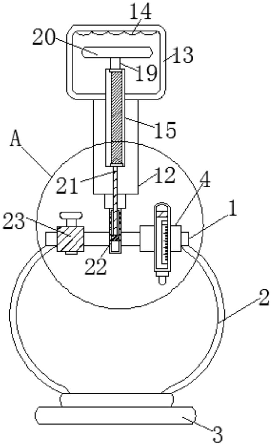
本实用新型属于中医拔火罐技术领域,尤其为一种可调节风门带控温的火罐装置,所述火罐下表面固定连接有罐体,所述罐体远离火罐的下表面固定连接有罐口,所述火罐的内部开设有固定块,所述固定块的内部固定连接有温度表玻璃层,所述温度表玻璃层的内部固定连接有温度表,所述温度表的下表面固定连接有温度传感探头,所述温度表的内部设置有温度刻度器,该可调节风门带控温的火罐装置,在使用时,通过温度表玻璃层、温度表、温度传感探头、温度刻度器和温度显示器之间的配合设置,通过温度刻度器和温度显示器之间的配合设置,将罐体内部的温度显示出来,从而使使用者在使用本装置进行治疗时,能够对罐体内部的温度进行了解。


