授权公布号:CN208243194U
一种玩具收纳架
有效
申请
2017-07-17
申请公布
1970-01-01
授权
2018-12-18
预估到期
2027-07-17
| 申请号 | CN201720863290.1 |
| 申请日 | 2017-07-17 |
| 授权公布号 | CN208243194U |
| 授权公告日 | 2018-12-18 |
| 分类号 | A47B47/00;A47B91/00;A47B96/00 |
| 分类 | 家具;家庭用的物品或设备;咖啡磨;香料磨;一般吸尘器; |
| 申请人名称 | 优贝乐(北京)国际教育咨询有限公司 |
| 申请人地址 | 北京市朝阳区长楹天街西区星座1栋19层优贝乐 |
专利法律状态
2018-12-18
授权
状态信息
授权
摘要
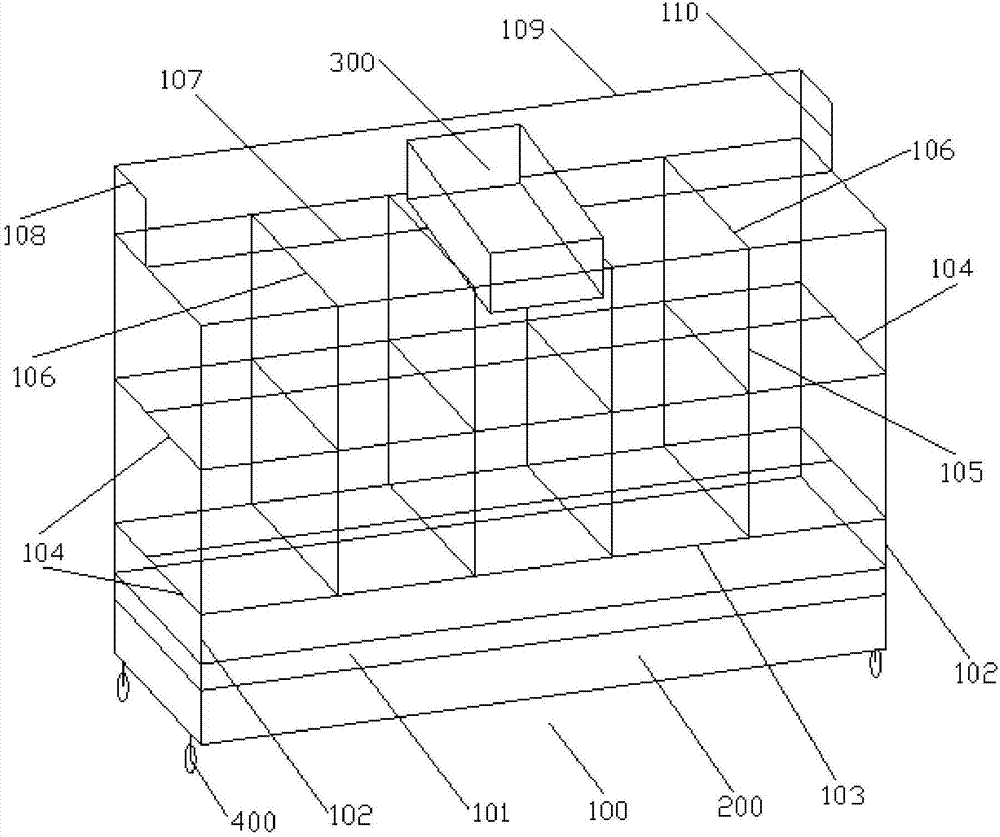
本实用新型涉及一种玩具收纳架,包括收纳架本体,收纳架本体包括方形的底座,底座上端四角分别设置有一固定杆,位于收纳架本体前端面的两个固定杆之间以及后端面的两个固定杆之间均设置有多个第一支撑杆,位于收纳架本体左侧端面的两个固定杆之间以及右侧端面的两个固定杆之间均设置有多个第二支撑杆,固定杆、第一支撑杆以及第二支撑杆共同构成收纳空间,收纳空间中设置有上下多层收纳区域,底层的收纳区域底部与所述底座上表面之间设置有间隙,每层收纳区域被方形的固定框架分割成多个收纳腔,每个收纳腔内设置有收纳盒。本实用新型的有益效果在于,提供一种结构简单、安全可靠、占用空间小且减震效果好的玩具收纳架。


