授权公布号:CN206980070U
一种滑梯
有效
申请
2017-07-24
申请公布
1970-01-01
授权
2018-02-09
预估到期
2027-07-24
| 申请号 | CN201720896768.0 |
| 申请日 | 2017-07-24 |
| 授权公布号 | CN206980070U |
| 授权公告日 | 2018-02-09 |
| 分类号 | A63G21/04;F21V33/00;F21Y115/10 |
| 分类 | 运动;游戏;娱乐活动; |
| 申请人名称 | 优贝乐(北京)国际教育咨询有限公司 |
| 申请人地址 | 北京市朝阳区长楹天街西区星座1栋19层优贝乐 |
专利法律状态
2018-02-09
授权
状态信息
授权
摘要
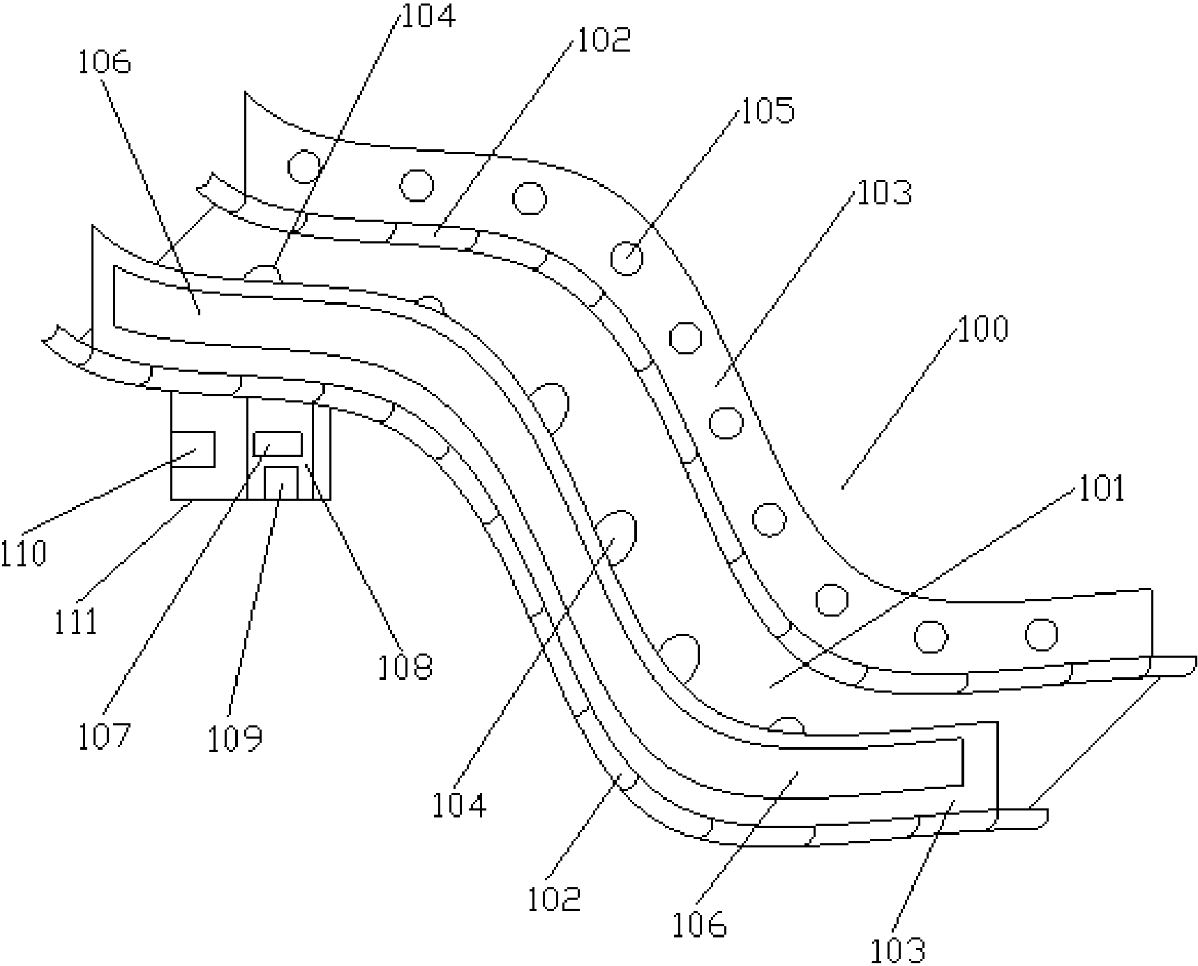
本实用新型涉及一种滑梯,包括滑梯本体,滑梯本体包括倾斜向下的滑道,所述滑道两侧设置有沿滑道方向延伸的防护栏,防护栏顶部竖直设置有防护板,滑梯本体中设置有多个用于检测滑道上用户滑行情况的传感器,滑梯本体两侧的防护板的内侧壁均设置有多个LED灯,所述传感器与LED灯分别与可编程式逻辑控制器电连接,可编程式逻辑控制器设置在所述滑梯本体上端的底部,还包括太阳能充电装置,所述太阳能充电装置包括太阳能电池板、充电控制电路板、接线盒及蓄电池。本实用新型的有益效果在于,提供一种安全可靠、节能环保且趣味性高的滑梯。


