授权公布号:CN216894012U
一种窄型扇框及应用其的推拉门窗
有效
申请
2021-12-21
申请公布
1970-01-01
授权
2022-07-05
预估到期
2031-12-21
| 申请号 | CN202123256806.1 |
| 申请日 | 2021-12-21 |
| 授权公布号 | CN216894012U |
| 授权公告日 | 2022-07-05 |
| 分类号 | E06B3/06;E06B7/23 |
| 分类 | 一般门、窗、百叶窗或卷辊遮帘;梯子; |
| 申请人名称 | 广东亿合门窗科技有限公司 |
| 申请人地址 | 广东省佛山市南海区狮山镇长虹岭工业园二期民虹路2号 |
专利法律状态
2022-07-05
授权
状态信息
授权
摘要
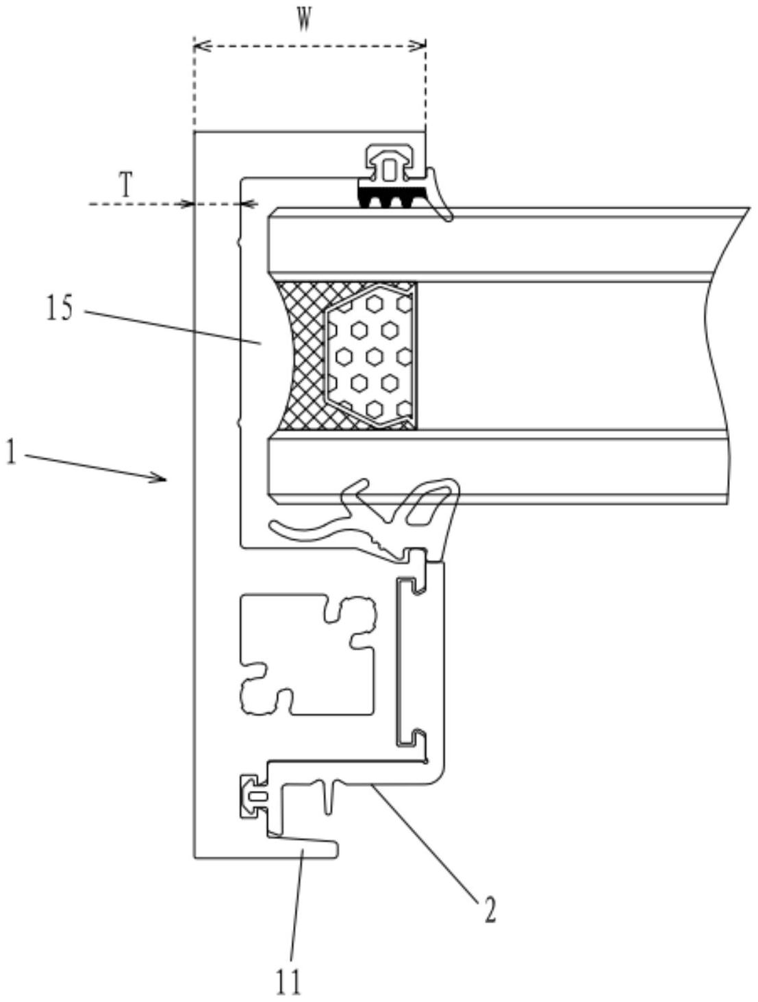
本实用新型公开了一种窄型扇框及应用其的推拉门窗,该扇框的一端设有扣合壁,扣合壁的一侧设有凹槽,凹槽组装有胶条,胶条包括第一组装部与第二组装部,第一组装部连接于凹槽的底壁,第二组装部连接于扇框的侧面,两扇框之间能够通过扣合壁实现扣合,增强两扇框之间的连接强度,胶条通过两个组装部连接于扇框,使得胶条不易错位与脱离,提高胶条组装的稳固性,提高胶条的连接稳固性。


