授权公布号:CN216894051U
具有多层隔热结构的推拉门
有效
申请
2021-12-28
申请公布
1970-01-01
授权
2022-07-05
预估到期
2031-12-28
| 申请号 | CN202123362928.9 |
| 申请日 | 2021-12-28 |
| 授权公布号 | CN216894051U |
| 授权公告日 | 2022-07-05 |
| 分类号 | E06B3/46;E06B3/263;E06B7/22 |
| 分类 | 一般门、窗、百叶窗或卷辊遮帘;梯子; |
| 申请人名称 | 广东亿合门窗科技有限公司 |
| 申请人地址 | 广东省佛山市南海区狮山镇长虹岭工业园二期民虹路2号 |
专利法律状态
2022-07-05
授权
状态信息
授权
摘要
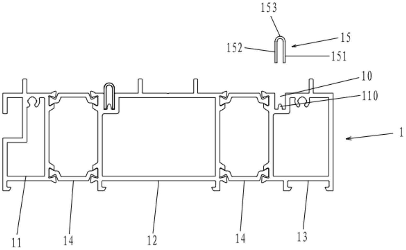
本实用新型公开了具有多层隔热结构的推拉门,包括门框,门框设有多个隔热条,形成多层隔热结构,提高隔热效果,门框还包括用于组装导轨的凹槽,凹槽的底壁设有限位凸台,限位凸台能够对导轨的第一壁与第二壁进行限定,从而能够减小导轨受压时的产生的形变,利于提高导轨的承压能力,保证导轨的精度与耐用性。


